|
КЛАДОЭНДЕЗИС НАСЕКОМЫХ |
|||||||
| fg | |||||||
I.2. Понятия и
термины, связанные с биологической
эволюцией
I.4.
Реконструирование
филогении
I.5.
Принципы классификации надвидовых
таксонов
I.6.
Принципы номенклатуры таксонов
* Причины необходимости правил номенклатуры
* Невмешательство привил номенклатуры в систематику
I.6.1 Общие принципы номенклатур биологических таксонов
I.6.1.1 Пригодность и валидность названий
I.6.1.2 Принцип приоритета
I.6.2 Разные типы номенклатур и названий
* Причина существования разных типов номенклатур
* Ранговая номенклатура
* Циркумскриптная (объемная) номенклатура
* Описательная номенклатура
* Филогенетическа номенклатура
* Иерархическая номенклатура
* Типифицированные и нетипифицированные названия
* Унифицированные и неунифицированные названия
I.6.3 Ранговые номенклатуры
I.6.3.1 Названия, регулируемые Международным кодексом зоологической номенклатуры (МКЗН)
I.6.3.1.1 История МКЗН
I.6.3.1.2 Область применения МКЗН и критерии пригодности названий
I.6.3.1.3 Принцип фиксации номенклатурных типов
I.6.3.1.4 Принцип приоритета и принцип координации в зоологической номенклатуре
I.6.3.1.5 Синонимия
I.6.3.1.6 Омонимия
I.6.3.1.7 Универсальные правила и права комиссии
I.6.3.1.8 Написание названий
I.6.3.2 Ранговые названия высших таксонов
I.6.4 Базовый формат типифицированных названий и иерархическая номенклатура
I.6.4.1. Базионим видового названия
I.6.4.2. Базовый формат типифицированных названий
I.6.4.3. Иерархические названия
I.6.4.4. Старшинство названий группы рода и группы семейства
I.6.5 Циркумскриптная (объемная) номенклатура
I.6.5.1 Термины, характеризующие циркумскрипцию надвидовых таксонов
I.6.5.2 Критерии пригодности циркумскриптных названий
I.6.5.3 Соответствие по циркумскрипции
I.6.5.4 Валидность циркумскриптных названий
I.6.6 Недоразумения, связанные с названиями
I.6.6.1 Стихийно складывающиеся значения нетипифицированных названий
I.6.6.2 Пример мифообразования: теория о полифилии Hexapoda
I.6.7 Сочетание циркумскриптной и иерархической номенклатур
I.6.7.1 Применение разных номенклатур
I.6.7.2 Написание видового названия в безранговой классификации
I.6.7.3 План изложения таксономической работы
I.7.1. Каталоги названий
I.7.2. Принципы составления таксономических каталогов
I.6. Принципы номенклатуры таксонов
Причины необходимости правил номенклатуры. Число видов и надвидовых таксонов животных, с которыми приходится иметь дело исследователям, измеряется миллионами; оно столь велико, что вызывает серьезные трудности с номенклатурой. Ни в одном языке нет такого большого числа слов, которое необходимо для обозначения всех известных таксонов, и ни один человек не может ориентироваться в таком числе названий. В некоторых других областях науки также имеется большое число объектов, значительно превышающее возможности бытового языка. Это, например, огромное число космических тел, множество географических объектов, бесконечно большое число химических веществ и др. Однако, если какой-нибудь географический объект беспорядочно и многократно переименовывать (как это часто делается), всегда можно разобраться в возникшей путанице названий, если указать координаты этого объекта. В химии можно точно указать, о каком веществе идет речь, если написать его структурную формулу.
Что касается видов животных, то в отличие от многих других объектов, для них невозможно дать такие диагнозы, которые позволили бы раз и навсегда однозначно указать, о котором виде идет речь. Виды различаются друг от друга неопределенно большим числом признаков, которые можно сформулировать бесконечно большим числом разных способов. Так что, сравнивая разные описания, нельзя однозначно сказать, идентичны они или нет. У каждого вида число признаков, которые в принципе могут быть использованы в качестве отличительных, бесконечно велико; их все невозможно перечислить ни в каком описании и невозможно показать ни на каком изображении (следует упомянуть, что изображение без описания вообще не может быть достаточным, так как изобразить можно только одну или несколько особей, а необходимо указать признаки вида в целом). Поэтому при описании каждого вида указывают лишь его отличия от других известных видов. В результате этого, при обнаружении нового, неизвестного ранее вида, выясняется, что в старых описаниях видов не хватает сравнений с признаками этого впервые найденного вида. Таким образом, для описанных ранее видов приходится периодически составлять новые, уточненные и исправленные описания.
Например, авторы XVIII–XIX веков, описывавшие виды бабочек, считали вполне достаточным подробно описать рисунок на их крыльях, снабдив описание аккуратно выполненным цветным изображением. Однако позже выяснилось, что некоторые виды бабочек имеют идентичный сложный рисунок на крыльях, но хорошо различаются строением внутренних гениталий, для изучения которых необходимо прокипятить брюшко бабочки в щелочи; другие виды бабочек надежно различаются только по числу и размеру хромосом. В старых описаниях эти необходимые признаки отсутствуют, и для давно известных видов приходится составлять новые описания. Не исключено, что в будущем окажется необходимым дополнить эти описания сведениями еще о каких-то морфологических, анатомических, биохимических или молекулярных признаках.
При изменении описания вида нет гарантии, что автор описания не перепутает вид и не опишет под тем же названием какой-то другой вид. Поскольку никакие из описаний, ни первоначальное, ни исправленное, не является достаточно надежными, для того, чтобы разобраться в запутанных случаях, необходима строгая система названий.
Самый простой способ договориться о том, какие названия для каких таксонов следует употреблять – это опубликовать официальный список правильных названий, утвержденный компетентной международной комиссией. Этот способ был бы возможным, если бы число таксонов, которые необходимо назвать, было бы постоянным и известным. Однако в действительности каждый год впервые описывается несколько десятков тысяч неизвестных ранее видов, для десятков тысяч ранее описанных видов предлагаются новые описания, устанавливается несколько тысяч новых родов и подродов и множество новых семейств и предлагаются новые классификации, в которых по-новому используются старые видовые, родовые, семейственные и другие названия. Никакая комиссия не может с такой скоростью принимать компетентные решения об употреблении каждого их этих названий.
Даже когда все виды животных будут хотя бы формально описаны (что в обозримом будущем не представляется возможным), число зоологических таксонов не станет постоянным. Как было показано выше (I.5.3.3), классификация животных является нестабильной, и эта нестабильность неизбежна, поскольку ценность представляет только естественная классификация, основанная на филогении, а мы можем лишь бесконечно долго приближаться к реконструированию филогении, используя для этого все знания по биологии, получаемые в ходе разнообразных исследований.
Поэтому для того, чтобы упорядочить употребление названий таксонов, необходимы универсальные правила номенклатуры, с помощью которых каждый автор может, не обращаясь к комиссии, найти однозначный ответ, как следует поступить с тем или иным названием.
Наиболее разработанными являются Международный кодекс зоологической номенклатуры (МКЗН), Международный кодекс ботанической номенклатуры, Международный кодекс номенклатуры бактерий и некоторые другие кодексы, регулирующие ранговые названия видов и других таксонов в разных областях биологии (о понятии ранговое название – см. ниже, I.6.2 и I.6.3). Эти кодексы утверждены соответствующими международными комиссиями, и их положения являются обязательными для всех биологов. В кодексах (в частности, в актуальном для зоологов МКЗН) даны универсальные правила, руководствуясь которыми можно принять решение об употреблении того или иного названия. Лишь в особых случаях, когда универсальные правила не позволяют решить возникшую проблему с названиями, по отдельным названиям принимаются специальные решения комиссии. Так что регуляция названий с помощью утвержденного комиссией официального списка все же существует, но она затрагивает не все названия, а очень малую их часть.
Некоторые категории названий таксонов (см. I.6.2 и I.6.5) не регулируются правилами существующих кодексов; их употребление упорядочивается стихийно складывающимися традициями, что к настоящему времени стало недостаточным. В данной книге предлагаются формулировки универсальных правил по употреблению таких названий. В отличие от правил МКЗН (см. I.6.3.1) и других международных кодексов, рассматриваемые здесь правила для ранговых названий высших таксонов (I.6.3.2), иерархических названий (I.6.4) и циркумскриптных названий таксонов (I.6.5) официально не утверждены и поэтому пока не являются обязательными. Некоторые положения являются общими для всех обсуждаемых правил – это понятия пригодности и валидности и принцип приоритета (I.6.1).
Невмешательство правил номенклатуры в систематику. Очень важно не путать проблемы номенклатуры и проблемы систематики (как вообще важно не путать название и предмет, к которому это название относится). Систематика является наукой и, следовательно, не может диктоваться кем-либо: каждый исследователь вправе сам решать, какие принципы систематики следует использовать и какой должна быть классификация; он может основывать классификацию на филогении или на чем-либо ином, может признавать или не признавать ту или иную филогенетическую гипотезу, и использовать любой способ построения классификации – кладистический, нумерический, градистический или какой-нибудь еще. Согласно принципам, действующим в науке начиная с эпохи Возрождения, никакой авторитет и никакая сколь угодно демократично избранная комиссия не может навязывать своего мнения ученому, а может лишь пытаться переубедить его логическими доводами. В отличие от систематики, номенклатура не является наукой, так как названия придумываются искусственно. Поэтому в номенклатуре могут действовать правила, утвержденные комиссией по номенклатуре и обязательные для всех исследователей; такие правила сформулированы в международных кодексах номенклатуры. В каждом из этих кодексов декларируется невмешательство правил номенклатуры в собственно систематику. В частности, в преамбуле Международного кодекса зоологической номенклатуры говорится: «Цель Кодекса – обеспечить стабильность и универсальность научных названий животных, так чтобы название каждого таксона было единственным и отличным от других. Все его положения и рекомендации служат этой цели, и ни одно не ограничивает свободу мысли и действий в области таксономии».
Ниже, в разделах I.6.3–I.6.5 будут рассмотрены различные принципы номенклатуры таксонов – как утвержденные в ныне действующем Международном кодексе зоологической номенклатуры, так и неофициальные, предлагаемые на усмотрение читателя. Прежде чем к ним перейти, следует остановиться на положениях, общих для всех типов номенклатур – это понятия пригодности и валидности названий и принцип приоритета.
I.6.1.1. Пригодность и валидность названий
То название таксона, которое следует употреблять, называется валидным, или действительным, или правильным. Валидное название выбирают с помощью определенных правил номенклатуры среди названий, которые, согласно правилам этой же номенклатуры, являются пригодными. Таким образом, пригодное название может быть валидным или невалидным, а непригодное название валидным быть не может. В разных номенклатурах критерии пригодности и валидности различаются (см. ниже). Общими для любых номенклатур являются следующие положения.
Пригодность названия устанавливается с помощью определенного набора критериев пригодности. К этим критериям относятся: опубликование названия после определенной даты, исходной для данной номенклатуры (для названий, подпадающих под правила Международного кодекса зоологической номенклатуры и для других зоологических названий – это первое января 1758 г., в ботанике и бактериологии – другие даты); определенная форма названия (в частности, все таксономические названия должны быть латинскими или латинизированными); определенные требования к тексту, сопровождающему первое опубликование названия (эти требования различаются в разных номенклатурах и по отношению к разным категориям названий). Если название удовлетворяет всем критериям пригодности, оно считается пригодным с точки зрения данной номенклатуры; если оно не удовлетворяет хотя бы одному критерию, оно пригодным не считается. Таким образом, для одного и того же таксона в рамках одной и той же номенклатуры можно создать сколько угодно различающихся пригодных названий, и в то же время можно создать одинаковые пригодные названия для разных таксонов.
Разные пригодные названия, данные одному и тому же таксону, называются синонимами (synonyma). О синонимии можно говорить только в рамках одной и той же номенклатуры, поскольку названия, непригодные с точки зрения данной номенклатуры, не считаются синонимами. Объективными синонимами (synonyma homotypica) называются различающиеся названия, данные заведомо одному и тому же таксону; в частности, объективные синонимы получаются при переименовании, когда публикуется новое название взамен имеющегося (об объективных ранговых синонимах – см. также I.6.3.1.5). Субъективными синонимами (synonyma heterotypica) называются различающиеся названия таких таксонов, которые имеют разные определения, но идентичны с нашей точки зрения. Понятие субъективной синонимии принципиально различается в ранговой номенклатуре (см. I.6.3.1.5) и в циркумскриптной номенклатуре (см. I.6.5.3), а в иерархической номенклатуре оно отсутствует.
Идентичные пригодные названия, данные разным таксонам, называются омонимами (или гомонимами) (homonyma). Младшие омонимы называются также преоккупированными названиями. Как и о синонимии, об омонимии можно говорить только в рамках одной и той же номенклатуры, поскольку названия, непригодные с точки зрения данной номенклатуры, не считаются омонимами. Если для двух разных таксонов предложены идентичные названия, относящиеся к разным номенклатурам (т.е. с точки зрения любой из номенклатур только одно из этих названий является пригодным), такие названия называют гемиомонимами (hemihomonyma) (Старобогатов 1984, 1991).
Для того, чтобы каждый таксон имел только одно название, и чтобы каждое название соответствовало только одному таксону, среди всех пригодных названий каждого таксона или среди всех идентичных пригодных названий, предложенных для разных таксонов, выбирается единственное валидное название; этот выбор валидного названия делается на основании правил той же номенклатуры, на основании которой установлена пригодность названий. Таким образом, в рамках одной номенклатуры достигается положение, при котором каждый таксон имеет единственное валидное название, а каждое валидное название относится только к одному таксону. В то же время один и тот же таксон может иметь несколько разных названий, валидных с точки зрения разных номенклатур, а идентичные названия, валидные с точки зрения разных номенклатур, могут относится к разным таксонам (т.е. являться гемиомонимами).
Способы выбора валидного названия среди пригодных названий различаются в разных номенклатурах, но во всех случаях в той или иной форме используется принцип приоритета. Этот принцип выражается в том, что среди конкурирующих пригодных названий в качестве валидного выбирается то название, которое раньше других стало удовлетворять критериям пригодности – т.е. раньше других было опубликовано с соблюдением всех критериев пригодности. Принцип приоритета обязательно должен быть ограничен: он распространяется только на названия, опубликованные после определенной исходной даты (в зоологии это 1758 г.); все названия, опубликованные до этой даты, считаются непригодными (см. 1.6.1.1). Если бы приоритет не был ограничен таким образом, ни одно название нельзя было бы с уверенностью считать действительным, поскольку время, предшествующее первой публикации этого названия, было бы неограниченно велико, и нельзя было бы с уверенностью сказать, что за это время не было опубликовано более старое (а значит и более приоритетное) название.
В связи с использованием принципа приоритета всякое название обязательно должно иметь авторство, так как к анонимным названиям принцип приоритета неприменим. При этом имеет значение не просто автор, а его конкретная публикация с конкретной датой опубликования.
Цель принципа приоритета состоит в том, чтобы пресечь всякое произвольное переименовывание таксонов. Любой человек может придумать новое название для любого ранее известного таксона и опубликовать это название с соблюдением всех критериев пригодности, но согласно принципу приоритета это новое название не будет валидным, поскольку единственным валидным является наиболее старое пригодное название того же таксона. Таким образом, принцип приоритета отбивает желание придумывать новые названия и позволяет всем зоологам прийти к единому мнению относительно того, которое из имеющихся названий следует употреблять. В отличие от любых других способов выбора единственного валидного названия среди нескольких пригодных, принцип приоритета исключает разногласия и дает однозначный результат: если названия опубликованы с разницей хотя бы в один день, одно из них является бесспорно старшим; если названия опубликованы в одной и той же статье, старшим считается то, которое в этой статье упомянуто первым.
Принцип приоритета имеет существенный недостаток: валидным названием (т.е. тем названием, которое следует употреблять) оказывается наиболее старое название. В то же время, как правило, чем старше название вида, тем менее ясно, к какому именно виду оно относится. Причина состоит в том, что при описании нового вида автор указывает те признаки, которые отличают данный вид от всех ранее описанных; но поскольку он не знает, какие виды будут описаны в будущем, он не может указать все признаки, необходимые для отличения описываемого им вида от еще неописанных. Поэтому чем позже описан вид, тем полнее его первоначальное описание (конечно при условии, что описания делаются добросовестно, что, к сожалению, бывает не всегда). Для переописания описанных ранее видов необходимо заново исследовать коллекционные экземпляры, по которым вид был исходно описан; чем раньше он был описан, тем меньше шансов, что эти экземпляры сохранилась и находится в хорошем состоянии.
В тех случаях, когда строгое соблюдение принципа приоритета приводит к существенным неудобствам или вообще оказывается невозможным, следует принять специальное решение, противоречащее принципу приоритета. В случаях с названиями, подпадающими под правила Международного кодекса зоологической номенклатуры (см. ниже) такие решения по отдельным конкретным названиям принимает Международная комиссия по зоологической номенклатуре.
В разных номенклатурах использование принципа приоритета различается по тому, среди каких именно названий следует выбирать наиболее старое. Например, в ранговых номенклатурах (см. ниже) выбирается самое старое название из названий таксонов того же ранга или той же группы рангов; в частности, для ботанического рода выбирается самое старое из родовых названий, а для зоологического рода – самое старое из родовых и подродовых названий вместе взятых. Таким образом, результат выбора названия с помощью принципа приоритета зависит от того, правила какой номенклатуры при этом применяются.
Альтернативой принципу приоритета является право первого ревизующего. Оно выражается в том, что право выбора валидного названия среди конкурирующих пригодных названий предоставляется тому автору, который первым счел эти названия синонимами. Этот принцип частично применяется в МКЗН. Поскольку установление субъективной синонимии не является номенклатурным актом, и авторство первого установления синонимии обычно не указывают, право первого ревизующего не способствует стабильности номенклатуры.
Причина существования разных типов номенклатур. Как было показано выше (I.5.3.2), классификация не может быть стабильной. Причина постоянного изменения классификации состоит в том, что классификация основывается на филогении, но нет прямых методов изучения филогении; филогения реконструируется лишь косвенными методами, для которых необходимо использовать все биологические знания; поскольку накопление биологических знаний бесконечно, процесс приближения к реконструкции филогении также бесконечен, и, следовательно, бесконечным будет и изменение классификации. Поэтому совершенно бессмысленно надеяться на то, что когда-нибудь будет построена идеальная классификация живых организмов, которую уже не нужно будет изменять. Если бы существовала стабильная классификация, не нужны были бы правила номенклатуры, достаточно было бы раз и навсегда утвердить названия для всех таксонов этой стабильной классификации. Именно невозможность создать стабильную классификацию заставляет создавать универсальные правила номенклатур.
Задача любых принципов номенклатуры таксонов состоит в том, чтобы однозначно связать названия с таксонами. Однако таксон имеет много различных атрибутов. Атрибутами таксона, в частности, являются циркумскрипция (под циркумскрипцией надвидового таксона здесь и далее подразумевается конкретный набор видов, входящих в данный таксон), диагноз, ранг, место в классификации и др. Невозможно связать название со всеми атрибутами таксона сразу, поскольку по мере изменения классификации сочетания атрибутов таксонов изменяются. Например, в разных классификациях таксоны одинаковой циркумскрипции могут иметь разные ранги, разные диагнозы или относиться к разным вышестоящим таксонам; и наоборот, таксоны одного и того же ранга могут иметь различные циркумскрипции, и т.п. Номенклатура таксонов должна быть рассчитана на постоянно изменяющуюся классификацию, а значит, название может быть жестко связано только с каким-либо одним атрибутом таксона.
По тому, с каким атрибутом таксона связывается название, можно различить несколько принципиально разных групп номенклатур – это ранговые, циркумскритные, описательные, филогенетические, иерархические и другие номенклатуры. Как будет показано ниже, практически значимыми являются только ранговая, иерархическая и циркумскриптная номенклатуры.
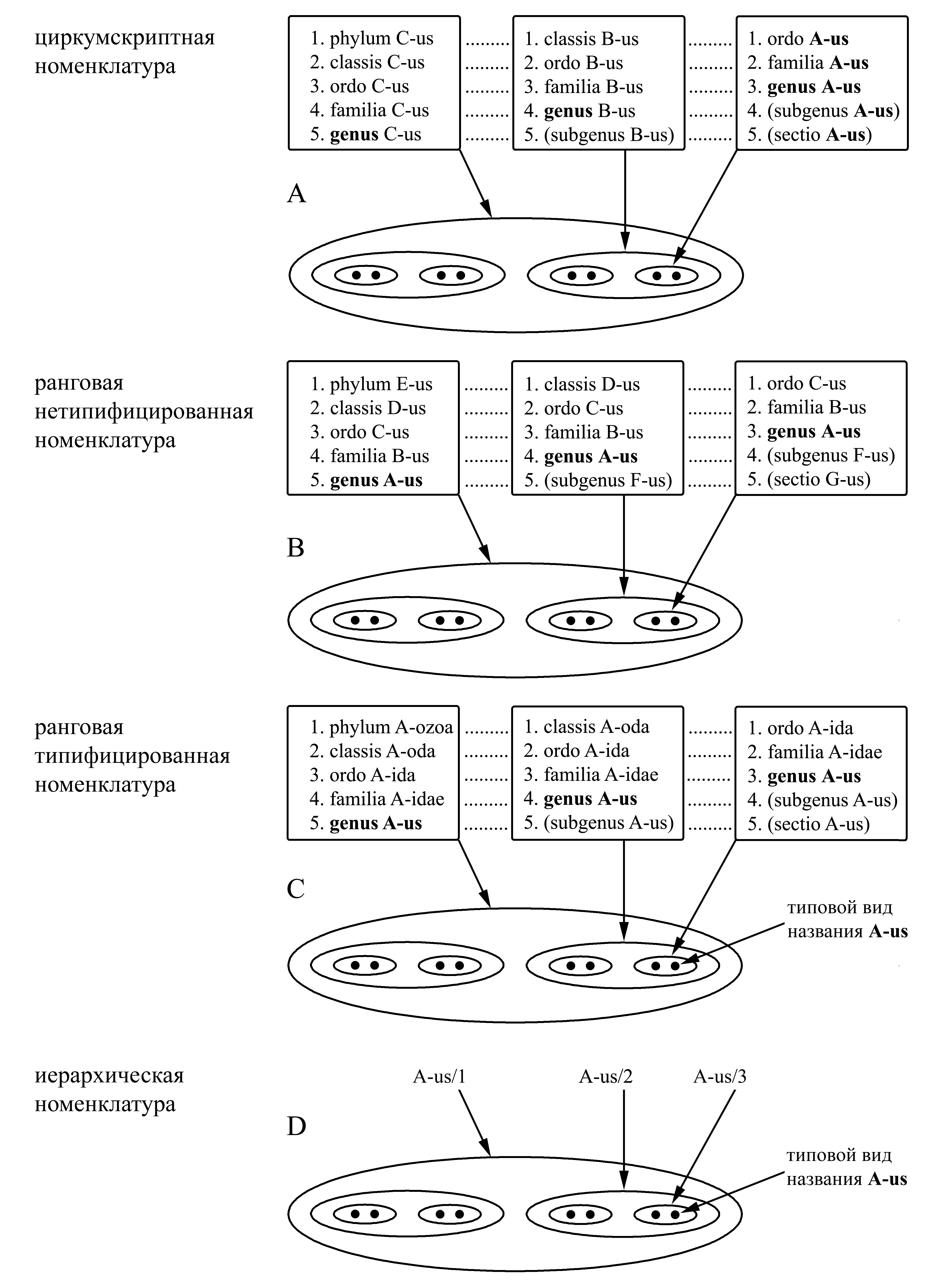
Ранговая номенклатура. При этом типе номенклатуры название связано с определенным рангом таксона и, соответственно, меняется при изменении ранга, но остается неизменным при изменении других атрибутов, в том числе при изменении циркумскрипции и положения в классификации (рис. 1.8). Ранговый принцип номенклатуры имеет особенно большое значение в систематике вплоть до настоящего времени, поскольку только на нем основаны международные кодексы номенклатур, в том числе Международный кодекс зоологической номенклатуры. Однако этот принцип имеет существенные недостатки (I.6.6) и в данной книге не используется. Подробно о ранговых номенклатурах см. ниже, I.6.3.
Циркумскриптная номенклатура. При этом типе номенклатуры название связано с определенной циркумскрипцией (т.е. составом, или границами) таксона и не зависит от его ранга и положения в классификации (рис. 1.8). Этот принцип номенклатуры традиционно используется преимущественно для таксонов высоких рангов, но строгие правила циркумскриптной номенклатуры до недавнего времени не были сформулированы. Подробно о циркумскриптной номенклатуре см. ниже, I.6.5 и I.6.7.
Описательная номенклатура. При этом типе номенклатуры название связано с диагнозом таксона и, соответственно, меняется при изменении диагноза. Некоторые авторы пытались применять этот принцип.
Например для одного и того же таксона ногохвостки разными авторами давались названия Collembola (в связи с наличием клейкой вентральной трубки, или эмболиума), Podura (что переводится как «ногохвостки» и связано с наличием прыгательной хвостовой вилки), Oligomerentoma (в связи с малым числом сегментов брюшка), Protomorpha (в связи с предполагаемым особым типом эмбриогенеза – протоморфозом) и другие (см. главу VI: Collembola).
Очевидно, что таким способом можно бесконечно много раз менять название одного и того же таксона, но ни одно название не будет в полной мере соответствовать диагнозу. Поэтому описательный принцип не может привести к стабильности номенклатуры, и его использование нецелесообразно. В своих ранних работах К. Линней предлагал номенклатуру, в которой название вида включало от 2 до 13 слов и было в то же время диагнозом этого вида (Linnaeus 1751); позже он разработал бинарную номенклатуру, в которой название вида всегда состоит из двух слов и может не соответствовать ни диагнозу, ни части диагноза этого вида (Linnaeus 1758); именно эта бинарная номенклатура стала общепризнанной.
Филогенетическая номенклатура. В последнее время некоторыми авторами предлагалась филогенетическая (кладистическая) номенклатура, где название связано с определенным общим предком таксона – т.е. каждое название может относиться только к заведомо голофилетическому таксону, произошедшему от указанного предкового вида. При таком выборе атрибута таксона само наличие названия оказывается утверждением о голофилии таксона; поэтому употребление филогенетической номенклатуры опасно тем, что может привести к подмене доказательства голофилии таксона ссылкой на наличие у этого таксона филогенетического названия. К счастью, предложенные к настоящему времени правила филогенетической номенклатуры неприменимы, поскольку в них отсутствуют критерии пригодности названий, которые позволили бы определить, какие названия подпадают под правила филогенетической номенклатуры, а какие нет. Авторы, составляющие правила филогенетической номенклатуры, считают таким критерием указание, что новое название относится к голофилетическому таксону; однако таким же указанием в прямой или косвенной форме сопровождается новое название голофилетического таксона в любой другой номенклатуре. В том виде, в котором филогенетическую номенклатуру предлагают некоторые авторы (имеющие крайне смутное представление о принципах номенклатуры, и потому здесь не цитируемые), эта номенклатура напрямую противоречит существующему Международному кодексу зоологической номенклатуры (МКЗН): например, названия семейств, образованные по правилам ранговой номенклатуры МКЗН (см. ниже, I.6.3.1), предлагается использовать по совершенно иным правилам филогенетической номенклатуры. Подобное использование одного и того же названия в разных, противоречащих друг другу номенклатурах совершенно недопустимо, так как приводит лишь к номенклатурному хаосу.
Иерархическая номенклатура. В данной книге, наряду с циркумскриптной, используется разработанная автором иерархическая номенклатура, в которой название связано с положение таксона в иерархической классификации и не зависит от ранга (рис. 1.8). Данная номенклатура основана на ныне действующем Международном кодексе зоологической номенклатуры, но при этом лишена некоторых существенных недостатков, свойственных ранговой номенклатуре Кодекса. Подробно об иерархической номенклатуре см. ниже, I.6.4 и I.6.7.
Рис. 1.8.
Принципиальные
различия циркумскриптных и ранговых,
типифицированных и нетипифицированных
номенклатур. A
– циркумскриптная номенклатура (нетипифицированная);
B
– ранговая нетипифицированная
номенклатура; C
– ранговая типифицированная номенклатура; D
– иерархическая номенклатура (типифицированная).
Черными кружочками обозначены виды,
эллипсами
– надвидовые таксоны. На рисунках A–C названия каждого таксона даны для пяти
разных вариантов расстановки рангов,
обозначенных цифрами от 1 до 5. Вместо
латинских названий таксонов везде написаны
условные A-us, B-us и т.д. Один из рангов
– genus (род) и одно из названий
– A-us везде отмечены жирным шрифтом.
Тогда как по способу употребления названия делятся на ранговые, циркумскриптные, иерархические и др., по форме названия надвидовых таксонов могут быть типифицированными или нетипифицированными, а также унифицированными или неунифицированными.
Типифицированные и нетипифицированные названия. Типифицированное название (nomen typus-fundatum) – это название, образованное от названия типового рода (о понятии типового рода см. ниже, I.6.3.1.3). Типифицированными являются многие ранговые названия надродовых таксонов и все иерархические названия. Нетипифицированными являются ранговые названия видовой и родовой групп и надвидовые циркумскриптные названия. Кроме того, некоторые нетипифицированные надродовые названия иногда употребляются в качестве ранговых, что представляется нежелательным (см. I.6.6.1).
Унифицированные и неунифицированные названия. Унифицированные названия (nomina unificata) – это такие ранговые названия, у которых концевые части (обычно суффиксы и окончания) идентичны у названий одного ранга, и различны у названий разных рангов.
Различия названий по их форме показаны на табл. I.5.
Таблица
I.5. Примеры типифицированных, нетипифицированных, унифицированных и
неунифицированных названий: в каждой графе даны названия двух
надотрядов
– стрекозообразных (с типовым родом Libellula) и веснянкообразных (с
типовым родом Perla).
|
типифицированные: |
нетипифицированные: | |
|
унифицированные |
Libelluloidea Perloidea |
Odonatoidea Plecopteroidea |
|
неунифицированные: |
Libelluloidea Perlariae |
Odonatoidea Plecopteria |
Ранговыми мы называем те номенклатуры, в которых название жестко связано с рангом таксона и не зависит ни от циркумскрипции таксона, ни от его положения в классификации (рис. 1.8). Существенным недостатком рангового принципа номенклатуры является то, что название таксона здесь зависит от искусственного атрибута таксона, каковым является ранг (см. выше, I.5.4.2). В разных классификациях одно и то же ранговое название может относиться к таксонам, различающимся по составу (т.е. по циркумскрипции); в то же время для таксонов, объединяющих одних и тех же животных (т.е. имеющих идентичную циркумскрипцию), в рамках ранговой номенклатуры следует давать разные названия, если эти таксоны различаются по рангу. В результате этого использование ранговой номенклатуры нередко порождает недоразумения (см. ниже, I.6.6).
Достоинством рангового принципа номенклатуры является то, что он позволил создать строгие правила, на основании которых в рамках каждой конкретной классификации каждый таксон получает единственное неповторяющееся валидное название. До последнего времени подобные правила удавалось создать только на основе рангового принципа, в связи с чем этот принцип, несмотря на его явные недостатки, получил всеобщее признание и широко используется (о разработанных ныне строгих правилах, основанных на других принципах – см. ниже, I.6.4 и I.6.5).
На ранговом принципе основаны ныне действующие международные кодексы биологических номенклатур – Международный кодекс зоологической номенклатуры (МКЗН), Международный кодекс ботанической номенклатуры и Международный кодекс номенклатуры бактерий. Правила МКЗН охватывают названия таксонов, имеющих ранги от подвида до надсемейства. Кроме того, ранговыми названиями являются некоторые названия высших зоологических таксонов (т.е. таксонов рангом выше надсемейства), не подпадающих под правила МКЗН (см. ниже, I.6.3.2).
I.6.3.1. Названия, регулируемые Международным кодексом зоологической номенклатуры (МКЗН)
I.6.3.1.1. История МКЗН. История создания Кодекса восходит к концу XVIII в., когда начали создаваться правила номенклатуры. В 1842 г. был опубликован «Кодекс Стрикленда», в 1877 – «Кодекс Долла», в 1905 г. были опубликованы «Международные правила зоологической номенклатуры» (переведенные на русский язык в 1911 г.). Первое издание «Международного кодекса зоологической номенклатуры» было опубликовано в 1961 г., второе издание с некоторыми изменениями – в 1964 г. (переведено на русский язык в 1966 г.), третье, исправленное издание – в 1985 г. (переведено на русский язык в 1988 г.). В настоящее время действительным является четвертое, исправленное издание «Международного кодекса зоологической номенклатуры» (International code of zoological nomenclature / Code internacional de nomenclature zoologique), опубликованное на английском и французском языках в 1999 г. Русский перевод (с предисловием И.М. Кержнера) опубликован в 2000 г. в издательстве Зоологического института РАН, С.-Петербург.
Ныне действующий кодекс состоит из 90 статей, служащих для установления статуса названий. Кроме статей, в кодексе содержится большое число рекомендаций для авторов и редакторов научных публикаций; соблюдение этих рекомендаций необходимо для обеспечения максимально возможной стабильности зоологической номенклатуры.
I.6.3.1.2. Область применения МКЗН и критерии пригодности названий. МКЗН регламентирует употребление названий зоологических таксонов видовой группы (куда входят виды и подвиды), родовой группы (куда входят роды и подроды) и группы семейства (включающей надсемейства, семейства, подсемейства, трибы и др.), но его положения не распространяются на названия таксонов ниже подвида и выше надсемейства. Зоологическими считаются все таксоны, относящиеся к тем организмам, которые в данный момент считаются животными (в связи с тем, что правила номенклатуры не могут посягать на свободу исследователей в области систематики, в этих правилах не должно быть установлено, что именно следует относить к таксону животные).
Для разных групп (видовой, родовой и группы семейства) и для разных случаев установлены несколько разные критерии пригодности (о понятии пригодности см. выше – I.6.1.1); не имея возможности привести здесь все эти критерии, остановимся лишь на некоторых из них.
Исходной датой зоологической номенклатуры является 1 января 1758 г. Эта дата считается датой опубликования 10-го издания «Systema Naturae» (Linnaeus, 1758). Десятое издание выбрано в качестве исходного потому, что именно в нем, в отличие от предшествующих изданий, Линней последовательно придерживался принципа бинарной номенклатуры. Все названия, опубликованные до 1758 г., автоматически считаются непригодными (в том числе и названия, опубликованные Линнеем в предшествующих изданиях той же книги). В соответствии с этим все названия, включенные в 10-е издание «Systema Naturae» считаются впервые опубликованными в 1758 г., и автором их считается Линней (хотя на самом деле многие из этих названий употреблялись в литературе по систематике задолго до Линнея).
Чтобы быть пригодным, название должно быть латинским или латинизированным – т.е. записанным только латинскими буквами и читаемым по правилам латинской грамматики; по этимологии зоологические названия могут быть любыми (латинскими, греческими, взятыми из любых других языков или произвольными сочетаниями букв).
Название становится пригодным только с момента опубликования в научной литературе, неопубликованное название непригодно. В связи с этим, публикуя какое-либо латинское название, автор должен ясно понимать, является ли это название известным, или оно новое. В первом случае следует убедиться, что это название уже опубликовано ранее и является пригодным (тогда опубликование этого названия никак не повлияет на номенклатуру). В случае же, если предполагается опубликовать новое название, следует предварительно внимательно ознакомиться со всеми относящимися к этому случаю статьями и рекомендациями Кодекса, а также с поправками, принятыми Международной комиссией по зоологической номенклатуре, и соблюсти все критерии пригодности, с тем, чтобы в дальнейшем пригодность названия не вызывала никаких сомнений. Если почему-либо невозможно опубликовать название нового таксона с соблюдением всех рекомендаций Кодекса, желательно вместо латинского названия употребить какое-нибудь явно непригодное название (например, номер) для того, чтобы это название не претендовало на пригодность. В любом случае следует сделать так, чтобы название было либо бесспорно пригодным, либо бесспорно непригодным с точки зрения МКЗН, так как названия, имеющие сомнительную пригодность, нарушают стабильность номенклатуры.
Название видовой группы, т.е. название вида или подвида (иногда называемое эпитетом, как это принято в ботанике) становится пригодным только в том случае, если оно исходно опубликовано в составе биномена – т.е. в сочетании с конкретным родовым названием (такое сочетание называется исходной, или первоначальной, комбинацией). В дальнейшем систематическое положение этого вида можно изменить, так что тот же эпитет окажется в комбинации с другим родовым названием, но от этого его пригодность не исчезает, а авторство и год не меняются. В биномене можно менять родовое название, но нельзя употреблять видовой эпитет без родового названия. Это ограничение связано с тем, что многие эпитеты неоднократно повторяются в зоологической номенклатуре, а правила об омонимах в видовой группе (см. I.6.3.1.6) действуют только в том случае, если каждый видовой эпитет связан с каким-нибудь родовым названием.
I.6.3.1.3. Принцип фиксации номенклатурных типов. Важнейшим принципом ранговой номенклатуры является принцип фиксации типовых таксонов, или номенклатурных типов. Для каждого названия таксона обозначается тип (т.е. типовой экземпляр или типовой таксон). Это один из экземпляров или подчиненных таксонов в составе того таксона, к которому относится название.
Для названия видовой группы (вида или подвида) типом является типовой экземпляр – это один из коллекционных экземпляров данного вида. Типовой экземпляр выбирается произвольно, но только один раз; после того, как тип обозначен, он замене не подлежит. Поэтому типовые экземпляры, снабженные специальными этикетками, хранятся особенно бережно; тип не может быть подменен другим экземпляром, даже если он сильно испорчен или вообще утрачен. Если в исходном описании один экземпляр обозначен как типовой, то он называется голотип (holotypus); если при этом в типовой серии имеются другие экземпляры, они называются паратипы (paratypi). Если исходное описание было сделано по нескольким экземплярам, но голотип не был обозначен, все экземпляры называются синтипы (syntypi); в дальнейшем один из синтипов может быть обозначен тем же или другим автором как лектотип (lectotypus), при этом остальные бывшие синтипы становятся паралектотипами (paralectotypi). Если типовая серия полностью утеряна, а без типового экземпляра не может быть решена какая-то номенклатурная проблема, обозначают неотип (neotypus). Собственно, типом видового названия является голотип, лектотип или неотип (либо совокупность синтипов, если лектотип не обозначен).
Для названия родовой группы (рода или подрода) типом является типовой вид; в старой литературе иногда тип рода назывался генотип, но сейчас это слово используется только как генетический термин. Типовой вид родового названия указывается в исходном описании рода, а для старых названий (где это не было сделано исходно) – в одной из последующих публикаций. При этом действительным является то обозначение типового вида, которое было сделано раньше других.
Каждое название таксона группы семейства (надсемейства, семейства, подсемейства, трибы, подтрибы и т.п.) имеет типовой род. Названия таксонов этой группы образуются из названия типового рода путем изменения окончания.
Типы, хотя их часто и называют типами видов, родов, семейств и т.п., в действительности являются типами не самих таксонов, а их названий. У каждого названия может (и обязательно должен) быть лишь один тип, но к одному таксону относится столько типов, сколько у этого таксона имеется разных пригодных названий.
В то же время сами типы являются экземплярами или таксонами (видами или родами) – т.е. материальными объектами, а не названиями этих объектов. Поэтому если, например, изменяется название вида, который является типом родового названия, этот вид под измененным названием продолжает оставаться типом того же родового названия.
Типы служат для того, чтобы название не переносилось с одного таксона на другой. В случае изменения циркумскрипции таксона прежнее название сохраняется за тем таксоном, к которому относится тип этого названия. Например, если то, что ранее считалось одним родом, разделяют на несколько более мелких родов, прежнее родовое название сохраняется за тем родом, к которому относится типовой вид этого родового названия.
Так, в классификации Линнея таксон, объединяющий всех поденок, назывался родом и имел родовое название Ephemera Linnaeus 1758 (здесь дата установлена в соответствии с исходной датой приоритета, тогда как в действительности название Ephemera употреблялось задолго до этого). Поскольку Линней типовые виды не обозначал, типовой вид для этого родового названия был обозначен позже (Latreille, 1810), и в качестве типового вида была обозначена Ephemera vulgata Linnaeus 1758. Это значит, что при любых дальнейших изменениях классификации тот род, в котором оказывается вид E. vulgata, получает родовое название Ephemera, а тот род, в котором этот вид отсутствует, не может называться Ephemera. В разное время и в работах разных авторов названием Ephemera назывались разные по составу таксоны поденок, но в каждом случае это тот единственный в данной классификации таксон, который имеет ранг рода и включает вид E. vulgata.
Таким же образом используется и типовой экземпляр для названия видовой группы. Если, например, выясняется, что под одним и тем же видовым названием фигурирует несколько разных видов, то это название должно относиться к тому виду, к которому относится типовой экземпляр данного названия. Бывает, что исходное описание, сопровождающее видовое название, содержит только признаки, общие для нескольких видов; тогда чтобы решить, к которому из этих видов относится данное название, необходимо переисследовать типовой экземпляр.
Номенклатурные типы служат не для того, чтобы решать, к какому виду отнести тот или иной экземпляр или к какому надвидовому таксону отнести тот или иной вид, а для того, чтобы решать, какому виду или надвидовому таксону присвоить то или иное название; т.е. они служат не для решения вопросов систематики, а для решения вопросов номенклатуры. Этим обозначение номенклатурных типов (которое в современной биологии является обязательным) принципиально отличается от типологической концепции в систематике (которую сейчас почти никто не разделяет, так как искусственно выбранный тип не может служить основой для естественной систематики).
I.6.3.1.4. Принцип приоритета и принцип координации в зоологической номенклатуре. Все названия, подпадающие под правила МКЗН, делятся на следующие три группы. (1) Названия видовой группы, куда относятся названия видов и подвидов; такое название является вторым словом в биномене (тогда как первым словом является название рода), всегда пишется с маленькой буквы и представляет собой прилагательное или существительное единственного числа именительного или родительного падежа. (2) Названия родовой группы, куда относятся названия родов и подродов; такое название всегда пишется с большой буквы и представляет собой существительное единственного числа именительного падежа. (3) Названия группы семейства, куда относятся названия всех таксонов выше рода и не выше надсемейства – т.е. названия надсемейств, семейств, подсемейств, триб, подтриб и др.; такое название образуется от названия типового рода путем замены его грамматического окончания на суффикс с окончанием, соответственно рангу (-oidea для надсемейства, -idae для семейства, -inae для подсемейства, -ini для трибы и т.п.); такое название представляет собой существительное множественного числа именительного падежа. Для каждой из этих групп названий существуют отдельные правила номенклатуры. Согласно МКЗН, в каждой из трех групп существует принцип координации. Он выражается в следующем.
В видовой группе (т.е. среди названий видов и подвидов) название, пригодное в качестве видового, автоматически является пригодным и в качестве подвидового, с тем же авторством и датой; и наоборот, пригодное подвидовое название является одновременно пригодным и в качестве видового, с тем же авторством и датой.
В родовой группе (т.е. среди названий родов и подродов) существует аналогичная координация – родовое название автоматически является пригодным в качестве подродового, а подродовое название – в качестве родового, и в обоих случаях при изменении ранга сохраняются исходное авторство и дата. В результате при выборе старшего (валидного) названия рода или подрода, его следует выбирать среди родовых и подродовых названий вместе взятых, а не только среди названий того же ранга. Иными словами, пригодность, авторство и дата опубликования фактически относятся к названию родовой группы, а не к названию только рода или только подрода.
Например, исходно название Heptagenia Walsh 1863 было установлено как название рода; впоследствии род Heptagenia (по циркумскрипции уже не соответствующий исходному, как это часто бывает в ранговой номенклатуре) был разделен на подроды. Среди подродов рода Heptagenia неизбежно имеется один, который включает H. flavescens – типовой вид родового названия Heptagenia. Правильным названием подрода должно быть такое пригодное название родовой группы (неважно, исходно родовое или подродовое), которое является старшим среди названий, чьи типовые виды находятся в данном подроде. Бесспорно, в данном случае таким названием является название Heptagenia, поскольку оно является старшим из всех названий, чьи типовые виды находятся не только в данном подроде, а и во всем роде. Таким образом, подрод, включающий H. flavescens, должен называться подрод Heptagenia Walsh 1863 (несмотря на то, что Валш в 1863 году подродов не выделял).
В результате действия принципа координации в родовой группе, если род делится на подроды, один из его подродов неизбежно оказывается имеющим то же название, что и род, к которому он относится; такой подрод называется номинативным.
В группе семейства, согласно ныне действующему изданию МКЗН, имеется отдельный принцип координации, независимый от координации в группе рода. Названия группы семейства является типифицированным (см. I.6.2) и образуются от названий родовой группы путем замены окончания унифицированным суффиксом и окончанием, соответствующим рангу; так что, в отличие от названий таксонов разных рангов в группе рода (т.е. родов и подродов), названия таксонов разных рангов в группе семейства различаются своими окончаниями. Принцип координации в группе семейства означает, что авторство и дата любого названия группы семейства (надсемейства, семейства, трибы, подтрибы, или любого другого) автоматически распространяются на все названия группы семейства, образованные от того же родового названия. Таким образом, при выборе старшего (валидного) названия для конкретного таксона группы семейства, его следует выбирать не только среди названий таксонов того же ранга, но среди всех названий группы семейства, чьи типовые роды попадают в данный таксон. При изменении унифицированного суффикса и окончания, авторство и дата не меняются. Иными словами, валидное название семейства, подсемейства или иного таксона группы семейства образуется от того родового названия, от которого раньше других было образовано какое-нибудь название группы семейства. Координация в группе семейства является независимой от координации в родовой группе; это значит, что название родовой группы, от которого образовано название группы семейства, не обязательно является самым старшим.
Например, в одно семейство объединены роды Heptagenia Walsh 1863, Ecdyonurus Eaton 1868 и другие. Для того, чтобы образовать название семейства, из этих родов следует выбрать один и изменить окончание его названия, добавив «-idae». То, что родовое название Heptagenia старше других, не имеет значения, поскольку приоритет названий группы семейства не зависит от приоритета названий родовой группы. Раньше других название семейства было образовано от родового названия Ecdyonurus – Ecdyonuridae Ulmer 1920. Однако еще раньше от названия Heptagenia было образовано название подсемейства – Heptageniinae Needham 1901. В соответствии с принципом координации правильным названием семейства с правильно записанным авторством является название Heptageniidae Needham 1901 (несмотря на то, что Нидхэм в 1901 г. не считал этот таксон семейством и не употреблял слова Heptageniidae). Это же авторство приписывается и надсемейству Heptagenioidea, и трибе Heptageniini, и любому другому названию группы семейства, образованному от родового названия Heptagenia. Принцип координации в группе семейства приводит к тому, что в пределах этой группы название одного из непосредственно подчиненных таксонов всегда образовано от того же родового названия, что и название вышестоящего таксона. Например, надсемейство Heptagenioidea Needham 1901 включает семейство Heptageniidae Needham 1901, куда входит подсемейство Heptageniinae Needham 1901; если в нем выделяются трибы, то одна из них называется Heptageniini Needham 1901.
В то же время, поскольку координация между родовой группой и группой семейства отсутствует, не обязательно типовой род сохраняет валидным название, от которого было произведено название семейства.
Например, есть валидное название семейства Polymitarcyidae, но нет валидного родового названия Polymitarcys, от которого оно образовано. В данном случае в группе семейства название Polymitarcyini Banks 1900 (образованное от Polymitarcys и исходно данное для трибы) старше, чем название Ephoronidae Traver 1935 (образованное от Ephoron и исходно данное для семейства); в то же время в группе рода название Ephoron Williamson 1802 старше, чем название Polymitarcys Eaton 1868, при этом оба названия считаются относящимися к одному роду.
Правило об отдельной координации в группе семейства было принято в 1961 г. До этого времени твердые правила касались только употребления названий видовой и родовой групп, а при выборе типового рода для названия группы семейства разные авторы пользовались разными принципами. Поэтому в литературе существует много названий группы семейства, противоречащих ныне действующему правилу.
В ныне действующем Кодексе строгий принцип приоритета распространяется только на те случаи, когда валидное название выбирается среди названий, опубликованных в разное время; если конкурирующие названия опубликованы в одной работе, действует другой принцип – право первого ревизующего (см. I.6.1.2). Первым ревизующим считается автор, впервые установивший синонимию и выбравший среди конкурирующих названий валидное.
I.6.3.1.5. Синонимия. Как и во всякой типифицированной ранговой номенклатуре, в номенклатуре МКЗН объективными синонимами считаются названия одного ранга, имеющие один и тот же тип (т.е. типовой экземпляр или типовой таксон – см. выше, I.6.3.1.3). Субъективными синонимами считаются разные названия одного и того же ранга, если их типы не идентичны, но отнесены нами к одному и тому же таксону.
Например, если роды Heptagenia, Ecdyonurus, Rhithrogena, Epeorus и Arthroplea объединяются в одно семейство, то синонимами, т.е. названиями одного и того же семейства, считаются следующие:
Heptageniidae Needham 1901
= Ecdyonuridae Ulmer 1920;
= Arthropleidae Balthasar 1937.
Циркумскрипция таксонов при этом не принимается во внимание: например, название Arthropleidae никогда не применялось к семейству, объединяющему все эти роды, а было установлено для особого очень маленького семейства, включавшего только род Arthroplea.
Мы видим, что названия, считающиеся по правилам кодекса синонимами, могут относится к таксонам совершенно разной циркумскрипции. Таким образом, ранговая синонимия принципиально отличается от циркумскриптной синонимии (см. ниже, I.6.5.3), и эти понятия следует ясно различать.
В соответствии с принципом приоритета, действительным (валидным) названием данного таксона является только старший синоним; остальные, младшие синонимы, являются недействительными. Младшие синонимы не употребляются, но и не изымаются из номенклатуры, т.е. остаются пригодными: они учитываются при установлении омонимии (см. ниже), а при изменении классификации могут стать действительными названиями.
I.6.3.1.6. Омонимия. Омонимами (гомонимами) называются одинаковые названия, данные разным таксонам. МКЗН предписывает устранять омонимию; при этом, как и в случае с синонимами, действует принцип приоритета.
В зоологической номенклатуре название видовой группы (то есть безразлично, вида или подвида) не должно повторяться в пределах одного рода – точнее, в сочетании с одним и тем же родовым названием. При этом название подрода, если оно имеется, на омонимию названий видовой группы не влияет. Омонимия в видовой группе бывает первичной (когда совпадают исходные родовые названия у разных видов, имеющих одинаковые видовые эпитеты) и вторичной (когда виды с исходно разными родовыми названиями и одинаковыми эпитетами из-за изменений классификации оказываются в одном роде). Согласно правилам МКЗН, младшие первичные омонимы переименовываются необратимо, а младшие вторичные омонимы – обратимо.
Название родовой группы (безразлично, рода или подрода) не должно повторяться во всем царстве животных (точнее, во всей зоологической номенклатуре). При этом зоологическая, ботаническая номенклатура и номенклатура бактерий являются независимыми друг от друга, т.е. в каждой и этих номенклатур не учитываются названия других номенклатур; поэтому, например, одно и то же слово может быть названием рода животного и рода растения, но не может быть названиями двух разных родов животных.
I.6.3.1.7. Универсальные правила и права комиссии. Правила номенклатуры создаются для обеспечения стабильности названий. Поэтому при создании правил в них закрепляются уже сложившиеся к этому времени традиции. Однако никакие, даже самым удачным образом сформулированные универсальные правила не могут полностью соответствовать существующим традициям, сложившимся для каждого частного случая.
Например, если принимается универсальное правило о том, что валидным названием всегда должно быть самое старшее из пригодных названий таксона, то может оказаться, что для некоего хорошо известного таксона уже давно общепризнанным и вполне стабильным является название, не самое старое среди пригодных. В этом случае буква закона требует заменить всем известное название на никому неизвестное, но формально правильное; однако такая замена явно противоречит задаче стабилизации номенклатуры. В таком случае Международная комиссия по зоологической номенклатуре принимает отдельное решение, благодаря которому общепринятое название оказывается формально правильным: например, таким решением комиссии может быть отвержение (т.е. признание непригодным) более старого забытого названия.
В зависимости от ситуации, комиссия может признать то или иное название непригодным в смысле синонимии, но пригодным в смысле омонимии (в этом случае название не может быть валидным, но другое такое же название создавать нельзя); либо может признать название непригодным в смысле синонимии и омонимии; может приписать названию определенное авторство с датой; может узаконить обозначение типового таксона, противоречащее универсальным правилам Кодекса. Во всех случаях решения комиссии по отдельным названиям имеют приоритет над универсальными правилами Кодекса.
I.6.3.1.8. Написание названий. Кодекс регулирует не только выбор названий, но и их написание. Как уже говорилось, названия являются латинскими или латинизированными (т.е. записанными латинскими буквами и читаемыми по правилам латинской грамматики); по этимологии они могут быть любыми (латинскими, греческими, взятыми из любых других языков, либо произвольными сочетаниями букв).
Все названия таксонов родовой группы и группы семейства пишутся только с заглавной буквы, а названия видовой группы – всегда со строчной буквы, независимо от их этимологии и места в предложении. В старой литературе некоторые видовые названия (например, названия, представляющие собой фамилию человека в родительном падеже) писались с большой буквы; сейчас они должны писаться только с маленькой буквы. В современной зоологической номенклатуре не используются лигатуры букв, диакритические знаки, апостроф, диереза и другие знаки, употреблявшиеся ранее в некоторых названиях (например, название, исходно писавшееся как Baёtis, теперь пишется Baetis). Не используются в современной зоологической номенклатуре внутри названий дефис, знаки препинания и цифры, вместо этого каждое название пишется в одно слово слитно (например, вместо 10-punctata сейчас пишется decempunctata, вместо s-johannis или st. johannis пишется sanctijohannis). Единственное исключение составляют названия, включающие латинскую букву, изображающую признак таксона; такая буква пишется через дефис, например c-album. Все сказанное здесь относится только к зоологическим названиям, но не распространяется на названия растений, написание которых регламентируется Международным кодексом ботанической номенклатуры, допускающим употребление дефиса, диерезы и прописной буквы в видовых названиях.
Название вида является бинарным, т.е. состоит из родового и видового названий, пишущихся раздельно, без знаков препинания между ними, например, Heptagenia sulphurea. Название подвида в зоологии состоит из трех слов: собственно подвидовое название пишется после соответствующего родового и видового названий также без знаков препинания, например Heptagenia sulphurea dalecarlica. Если в составе рода выделяются подроды, то в названиях видов, входящих в этот род, можно написать подродовое название, заключив его в круглые скобки и поставив между родовым и видовым названием, например Heptagenia (Heptagenia) sulphurea. В связи с этим нельзя писать между родовым и видовым названием какие-либо другие латинские слова, заключенные в круглые скобки. В бинарном названии вида второе слово (собственно видовое название, или эпитет), если это прилагательное, должно сочетаться в грамматическом роде с родовым названием; в связи с этим в ряде случаев при изменении родового названия приходится изменять и окончание видового названия. При этом подродовое название, стоящее в скобках, не влияет на грамматический род видового названия.
Приведение фамилии автора названия является необязательным, но во многих случаях желательно. Фамилия автора и дата относятся только к последнему слову в названии. Фамилия автора, обеспечившего пригодность названия, пишется после названия без каких-либо знаков препинания; после нее пишется год опубликования, который либо отделен от фамилии автора запятой, либо не отделен ничем, кроме пробела (как в данной книге). Во многих публикациях приводят фамилии авторов без года; такое написание формально допустимо, но лишено смысла. Традиция указывать автора без года восходит к XVIII–XIX векам, когда не было правил номенклатуры, и каждый автор использовал названия по своему усмотрению; в этом случае указание фамилии автора позволяло определить значение названия.
Например Линней использовал название Tettigonia для кузнечиков, а Фабрициус использовал такое же название Tettigonia для цикад. Чтобы не путать эти названия, название кузнечиков писали как «Tettigonia Linn.», а название цикад как «Tettigonia Fabr.»; при этом год опубликования не указывали, потому что во всех публикациях Линнея название Tettigonia относилось к кузнечикам, а во всех публикациях Фабрициуса оно относилось к цикадам.
Сейчас ситуация иная: согласно ныне действующим правилам номенклатуры, значение названия определяется не мнением его автора, а той публикацией, которая обеспечила пригодность названия; год издания этой публикации имеет решающее значение, т.к. обеспечивает приоритет названия; поэтому приведение фамилии автора названия имеет смысл только в сочетании с годом.
Если после первого опубликования названия вида было изменено его родовое название, фамилия автора видового названия и год заключаются в круглые скобки. Например, Heptagenia sulphurea (Müller 1776), но Ephemera sulphurea Müller 1776, так как исходно этот вид был описан Мюллером в составе рода Ephemera и в последствии перенесен в род Heptagenia.
Если после названия приводится фамилия не того автора, который обеспечил пригодность названия, а какого-либо другого автора – например, автора ныне принятой комбинации видового и родового названия, или автора, установившего ныне принятую циркумскрипцию таксона – эта фамилия отделяется от названия таксона каким-либо иным способом, но не заключением в круглые скобки и не запятой.
В Приложении B6 Международного кодекса зоологической номенклатуры дана следующая рекомендация: «Научные названия родовой и видовой групп следует набирать шрифтом, отличным от принятого в тексте; такие названия обычно набираются курсивом, который не должен использоваться для названий высших таксонов». В соответствии с этой рекомендацией в данной книге все ранговые названия родовой и видовой групп, независимо от их значения в тексте, выделены курсивом, а все прочие названия таксонов (ранговые названия группы семейства, иерархические и циркумскриптные названия) написаны иными шрифтами – простым, полужирным или полужирным курсивом, в зависимости от значения в тексте.
I.6.3.2. Ранговые названия высших таксонов
Международный кодекс зоологической номенклатуры регулирует ранговые названия таксонов, имеющих ранг не выше надсемейства. Для названий высших таксонов (т.е. таксонов выше надсемейства – отрядов, классов, типов и др.) каких-либо общепринятых правил не существует.
Некоторые авторы отстаивают необходимость введения для высших таксонов обязательной унифицированной типифицированной номенклатуры. При этом предлагается все названия высших таксонов, подобно названиям группы семейства, образовывать от названия типового рода с добавлением суффикса и окончания, соответствующего рангу таксона. Какими именно должны быть суффиксы и окончания для тех или иных рангов – по этому поводу существуют разногласия (табл. I.6). Для разных групп животных, в которых используются типифицированные названия высших таксонов, в этом отношении сложились различные традиции.
Разногласия существуют также по поводу того, как следует использовать принцип координации по отношению к типифицированным названиям высших таксонов: можно вообще не использовать принцип координации (как это делается в ботанике), т.е. для таксона каждого ранга выбирать старейшее название независимо от названий таксонов других рангов; можно выделить несколько групп, подобных группе семейства (например, группу отряда, группу класса, группу типа) и в каждой из них установить собственную независимую координацию, подобно тому, как имеется независимая координация в группе рода и группе семейства; можно, наконец, распространить на все типифицированные названия высших таксонов координацию группы семейства. От того, какое из этих решений о принципе координации принимается, зависят названия таксонов.
Таким образом, чтобы унифицированные типифицированные ранговые названия стали общепризнанными среди зоологов, необходимо добиться согласия всех зоологов по двум вопросам: (1) для того, чтобы окончания названий стали общепризнанными, необходимо договорится о том, каким рангам какие окончания соответствуют; (2) для того, чтобы сделать общепризнанными основы названий, необходимо выбрать один из нескольких возможных принципов координации.
Таблица I.6.
Унифицированные окончания для
типифицированных названий зоологических
таксонов
|
|
Суффиксы и
окончания названия высших таксонов, |
||||
|
Ранги высших таксонов: |
Poshe |
Stenzel |
Hubbs |
Родендорф |
Старобогатов |
|
regnum |
|
-ontes |
|||
|
subregnum |
|
-ionti |
|||
|
superdivisio |
|
-ozoi * |
|||
|
divisio |
|
-ozoides * |
|||
|
sudivisio |
|
-ozoidi* |
|||
|
supersuperphylum |
-acea |
|
|
||
|
superphylum |
-aceae |
-ozoidea |
-ozoacei * |
||
|
subsuperphylum |
-acei |
|
|
||
|
phylum |
-aria |
-ozoa |
-ozoes * |
||
|
supersubphylum |
-ariae |
|
|
||
|
subphylum |
-arii |
-ozoina |
-ozoines * |
||
|
infraphylum |
-ozoines |
-ozoae * |
|||
|
supersuperclassis |
-omorpha |
|
|
||
|
superclassis |
-omorphae |
-odea |
-idees |
||
|
subsuperclassis |
-omorphi |
|
|
||
|
classis |
-oidea |
-oda |
-iodes * |
||
|
subclassis |
-ona |
-iones * |
|||
|
infraclassis |
-ones |
-ioni * |
|||
|
legio |
|
-omorphae |
|||
|
sublegio |
|
-omorphinae |
|||
|
cohors |
-iformes |
-omorphi * |
|||
|
superordo |
-ica |
-oilei |
-idea |
-iformii * |
|
|
ordo |
-ida |
-oidei |
-ida |
-iformes * |
|
|
subordo |
-ina |
-oinei |
-ina |
-oidei * |
|
|
infraordo |
|
|
-omorpha |
-oinei * |
|
|
Ранги таксонов |
Суффиксы и
окончания названий по МКЗН: |
||||
|
superfamilia |
-oidea |
||||
|
familia |
-idae |
||||
|
subfamilia |
-inae |
||||
|
tribus |
-ini |
||||
|
subtribus |
-ina |
||||
I.6.4.
Базовый формат
типифицированных названий
и иерархическая номенклатура
В настоящее время разработана безранговая иерархическая типифицированная номенклатура (nomenclatura hierarchica) на основе МКЗН (Клюге 1998, 1999). Названия групп рода и семейства (являющиеся сами по себе обязательно ранговыми) можно использовать не только в ранговой номенклатуре, но и для образования безранговых иерархических названий. При этом сохраняют свое значение типовые виды родовых названий (см. выше, I.6.3.1.3), авторство, приоритет и принцип координации, диктуемые МКЗН (см. I.6.3.1.4). В отличие от ранговой номенклатуры МКЗН, в иерархической номенклатуре название не связано с каким-либо определенным абсолютным рангом (таким как род, семейство и т.п.), а связано с относительным рангом – т.е. с числом вышестоящих иерархически соподчиненных таксонов. Поэтому иерархическая номенклатура может использоваться в безранговой классификации. В кладоэндезисе иерархическая номенклатура используется наряду с циркумскриптной (см. ниже, I.6.7).
Использование типифицированных названий в безранговой систематике основано на использовании базового формата типифицированных названий (см. I.6.4.2) и базионимов видовых названий (см. I.6.4.1).
I.6.4.1. Базионим видового названия
Согласно МКЗН, видовое название может существовать только в виде биномена, в котором первое слово является названием рода, а второе – собственно видовым названием (видовым эпитетом) (см. I.6.3.1.8). При этом одно и то же слово – родовое название – выполняет две совершенно разные функции, каждая из которых сама по себе достаточно сложна: с одной стороны, родовое название указывает систематическое положение вида, с другой стороны оно же придает названию вида уникальность и позволяет отличить его от всех прочих зоологических видовых названий (число которых измеряется миллионами). Тот факт, что первое слово биномена должно указывать систематическое положение вида, делает биномен крайне нестабильным: во-первых, потому что систематическое положение является предметом научного исследования и никогда не будет определено окончательно (см. I.4 и I.5), во-вторых, потому что для установления родового названия необходимо определить, какой из вышестоящих таксонов имеет ранг рода, причем ранги устанавливаются произвольно (см. I.5.4.2). В зависимости от сочетания видового эпитета с тем или иным родовым названием, эпитет может оказываться или не оказываться младшим омонимом другого названия, и в зависимости от этого его переименовывают или восстанавливают (поскольку переименование вторичного омонима обратимо – см. I.6.3.1.6).
Неизменной формой видового названия является его первичный биномен, или базионим (basionymum) (называемый некоторыми орнитологами протоним – protonymum). Это та комбинация видового и родового названий, которая была употребленная в публикации, обеспечившей пригодность данного видового названия. Если базионимы двух разных видов совпадают, то они являются первичными омонимами, и младший из них переименовывается необратимо (см. I.6.3.1.6); благодаря этому базионимы не повторяются во всей зоологической номенклатуре.
Если родовое название базионима не соответствует современному представлению о систематическом положении данного вида, его следует написать так, чтобы читатель не принял его за название рода, к которому сейчас отнесен этот вид. В правилах МКЗН нет рекомендации, как следует писать такие базионимы, поэтому их записывают по-разному. Наиболее удобным способом является переставить видовое и родовое названия местами: вначале пишется видовой эпитет (обязательно со строчной буквы – см. I.6.3.1.8), затем автор и год, затем первоначальное родовое название, отделенное запятой или заключенное в скобки; удобнее всего заключить его в квадратные скобки, чтобы не путать с названием подрода и иметь возможность указать в круглых скобках исходное название подрода. В краткой форме можно привести базионим без автора и года.
Например, один и тот же вид фигурирует в литературе под бинарными названиями Ephemera mutica Linnaeus 1758, Baetis muticus (Linnaeus 1758), Nigrobaetis muticus (Linnaeus 1758), Takobia mutica (Linnaeus 1758) и Alainites muticus (Linnaeus 1758) в зависимости от того, насколько широко те или иные авторы понимают роды Ephemera, Baetis, Nigrobaetis, Takobia и Alainites. Базионим этого названия можно записать как «mutica Linnaeus 1758 [Ephemera]» или просто «mutica [Ephemera]».
I.6.4.2. Базовый формат типифицированных названий
В ранговой типифицированной номенклатуре название надродового таксона образуется от родового названия путем изменения окончания соответственно рангу таксона; при этом выбор родового названия однозначно определяется правилами соответствующего кодекса (см. I.6.3.1), а выбор ранга таксона, и, соответственно, окончания названия, делается произвольно (см. I.5.4.2). Если вычленить из такого названия ту его часть, которая однозначно определяется правилами кодекса, мы получим название в базовом формате. Название в базовом формате можно записать следующим образом: родовое название, старшее для данного таксона (с заглавной буквы, но не курсивом, поскольку в данном случае оно не является названием рода или подрода); косая черта (или иной знак); буква f или g, указывающая на то, по каким правилам кодекса установлен приоритет родового названия. Если приоритет установлен на основании авторства названий группы рода, то после косой черты пишется буква g (от слова genus – род). Если приоритет установлен на основании авторства названий группы семейства, то после косой черты пишется буква f (от слова familia – семейство).
Например, для таксона, объединяющего всех поденок, старшим родовым название является Ephemera Linnaeus 1758, поэтому название поденок в базовом формате можно записать как Ephemera/g. Для этого же таксона старшим названием группы семейства является Ephemerinae Latreille 1810, образованное от того же родового названия Ephemera Linnaeus 1758; поэтому название поденок в базовом формате можно записать и как Ephemera/f. Эти два названия можно совместить, записав их как Ephemera/fg. Авторство такого названия в базовом формате можно указать следующим образом: Ephemera/fg [f: Ephemerinae Latreille 1810; g: Ephemera Linnaeus 1758], или более кратко: Ephemera/fg [f:1810; g:1758], поскольку для выбора правильного названия необходимо знать только дату опубликования, обеспечившего пригодность названия.
Если старшие родовые названия, выбранные по правилам для группы рода и по правилам для группы семейства, не совпадают, в базовом формате названия можно указать два родовых названия с соответствующими буквами f и g через знак равенства.
Например, для таксона, объединяющего тараканов и богомолов, старшим родовым названием является Blatta Linnaeus 1758, а старшим названием группы семейства является Mandides Latreille 1802, образованное от родового названия Mantis Linnaeus 1767. Название этого таксона в базовом формате можно записать как Mantis/f=Blatta/g; его авторство можно указать так: Mantis/f=Blatta/g [f: Mantides Latreille 1802; g: Blatta Linnaeus 1758], или кратко: Mantis/f=Blatta/g [f:1802; g:1758].
Название в базовом формате не является однозначным названием конкретного таксона, потому что несколько вложенных друг в друга таксонов имеют одно и то же название в базовом формате. Чтобы превратить название в базовом формате в название конкретного таксона, его можно сделать либо ранговым, либо иерархическим. В первом случае окончание родового названия заменяется на суффикс и окончание, соответствующее абсолютному рангу (см. I.6.3.1 и I.6.3.2), во втором случае к названию в базовом формате добавляется номер, соответствующий относительному рангу в данной классификации (см. I.6.4.3).
I.6.4.3. Иерархические названия
Иерархическое название (nomen hierarchicum) состоит из названия в базовом формате (см. I.6.4.2) и номера от 1 и более. Среди таксонов, имеющих идентичные типифицированные названия в базовом формате, номер 1 присваивается тому таксону, который в данной иерархической классификации является самым крупным (самым высшим). Подчиненные ему таксоны, имеющие то же название в базовом формате, нумеруются по порядку соподчиненности так, что чем больше номер, тем меньше таксон (и тем ниже его относительный ранг).
Таксоны с одним и тем же старшим родовым названием нумеруются от высшего к низшему, а не наоборот, поскольку принцип приоритета позволяет однозначно определить самый высший из них, тогда как дробить таксоны можно неопределенно долго.
Пример образования иерархических названий показан на рис. 1.9. Представим себе, что мы присвоили интересующему нас надвидовому таксону ранг рода (поскольку никаких писаных ограничений в присвоении рангов не существует, мы в принципе можем присвоить ранг рода любому сколь угодно большому или сколь угодно малому таксону, лишь бы он включал не менее одного формального вида); затем, на основании правил МКЗН для группы рода (см. I.6.3.1.4), определим, какое родовое название должно быть валидным для этого таксона; в примере, приведенном на рис. 1.9 – это название Habrophlebia Eaton 1881. После него ставится косая черта и буква g, означающая, что при выборе названия использовалось правило приоритета и принцип координации для группы рода; получается название в базовом формате Habrophlebia/g. В конкретной классификации может быть несколько иерархически соподчиненных таксонов с одним и тем же названием в базовом формате; эти названия должны различаться номерами. Для начала нумерации следует найти самый высший (т.е. самый крупный) таксон, которому в принципе может быть присвоено данное родовое название, и этому таксону присваивается первый номер. В нашем примере самый высший таксон, для которого старшим родовым названием является название Habrophlebia, получает иерархическое название Habrophlebia/g1. Таксон еще более высокого ранга, чем Habrophlebia/g1, не может носить названия Habrophlebia, так как, помимо типового вида родового названия Habrophlebia Eaton 1881 (каковым является вид Ephemera fusca Curtis 1834), в этот же таксон попадает и типовой вид более старого родового названия Leptophlebia Westwood 1840 (каковым является вид Ephemera vespertina Linnaeus 1768) и, следовательно, этот таксон в случае придания ему родового ранга должен называться не Habrophlebia, а Leptophlebia. Все соподчиненные таксоны с одним и тем же родовым названием нумеруются по порядку, начиная от самого высшего из них так, что чем больше номер, тем ниже ранг. В нашем примере Habrophlebia/g1 делится на Habrophlebia/g2 и Habroleptoides/g1; Habrophlebia/g2 делится на Habrophlebia/g3 и Hesperaphlebia/g1, поскольку названия Habroleptoides Schoenemund 1929 и Hesperaphlebia Peters 1979 младше названия Habrophlebia.
Таким способом, пользуясь только правилами приоритета для родовой группы, можно обеспечить однозначными иерархическими названиями все таксоны в конкретной классификации. Названия в базовом формате и соответствующие им иерархические названия можно дополнить названиями группы семейства.
В данном случае старейшим названием группы семейства, образованным от родового названия Habrophlebia, является название Habrophlebiinae Kluge 1994; это название младше, чем старейшее название, образованное от родового названия Leptophlebia – Leptophlebini Banks 1900; названий группы семейства, образованных от родовых названий Habroleptoides и Hesperaphlebia, не существует. Таким образом, вместо иерархических названий Habrophlebia/g1, Habrophlebia/g2 и Habrophlebia/g3, можно указать более полные иерархические названия Habrophlebia/fg1, Habrophlebia/fg2 и Habrophlebia/fg3.

Рис. 1.9. Пример
образования иерархических названий в
одной из групп поденок. Точками
обозначены виды, эллипсами –
надвидовые таксоны.
Если совпадает родовое название, но не совпадает номер, в иерархическом названии оба номера с соответствующими им буквами пишутся через знак равенства без пробелов; если же не совпадают родовые названия, через знак равенства без пробелов пишутся два родовых названия, каждое с соответствующим ему номером и буквой.
Например, существует таксон, включающий и типовой вид родового названия Caenis Stephens 1835, и типовой вид более старого родового названия Brachycercus Curtis 1834; при этом старейшее название группы семейства, образованное от родового названия Caenis – Caenidae Newman 1853, старше, чем старейшее название группы семейства, образованное от родового названия Brachycercus – Brachycercidae Lestage 1924. Таксон, включающий оба типовых вида, имеет иерархическое название Caenis/f1=Brachycercus/g1. Такая форма записи означает, что по правилам МКЗН при придании этому таксону ранга группы рода, он должен называться Brachycercus, а при придании ему ранга группы семейства, его название должно образовываться от родового названия Caenis. Один из подчиненных таксонов в составе Caenis/f1=Brachycercus/g1 также включает оба эти типовых вида, и его иерархическое название записывается как Caenis/f2=Brachycercus/g2. В ранговой номенклатуре этот таксон также может называться Brachycercus или типифицированным названием, образованным от названия Caenis, в зависимости от того, считаем ли мы его таксоном родовой группы или группы семейства. Этот таксон, в свою очередь, делится на два таксона, один из которых включает типовой вид родового названия Caenis, а второй включает типовой вид родового названия Brachycercus. Первый из этих таксонов получает иерархическое название Caenis/f3=g1, а второй – иерархическое название Brachycercus/f1=g3. Иерархическое соподчинение этих таксонов выглядит следующим образом:

При изменении классификации нумерация иерархических названий смещается, так что в разных классификациях таксоны одной и той же циркумскрипции могут оказаться под разными названиями, а таксоны разной циркумскрипции – под идентичными названиями. Это общий недостаток иерархической и ранговой номенклатуры; его лишена только циркумскриптная номенклатура (см. ниже). Принципиальная разница здесь между иерархической и ранговой номенклатурами состоит в том, что при ранговой номенклатуре названия смещаются не только при изменении самой классификации, но и при изменении одних лишь рангов, тогда как при иерархической номенклатуре названия смещаются только при изменении самой классификации, т.е. порядка иерархического соподчинения таксонов. В отличие от изменения рангов, которое делается произвольно и никак не аргументируется, изменение самой классификации всегда обосновано какими-либо аргументами и обсуждаемо.
При использовании иерархического названия бывает полезно пояснить, что означает его номер – т.е. какая именно иерархическая классификация имеется в виду в данном случае. Для этого при первом упоминании названия следует указать в скобках родовые названия ближайших исключенных таксонов (через слово sine – без) и родовые названия непосредственно подчиненных таксонов (через слово incl. – incluso, включая).
Например, названия из рассмотренного выше примера при их первом упоминании в тексте целесообразно записать так:
Leptophlebia/fg1 (incl. Calliarcys, Habrophlebia, Atalophlebia);
Habrophlebia/fg1 (incl. Habroleptoides);
Habrophlebia/fg2 (sine Habroleptoides; incl. Hesperaphlebia);
Habrophlebia/fg3 (sine Hesperaphlebia).
В табл. I.7 приведены иерархические названия таксонов, образованных от одного и того же родового названия Scarabaeus.
Таблица I.7. Иерархические названия некоторых таксонов, обсуждаемых в данной книге. В левой колонке красным выделены номера, которые относятся к таксонам со старшим родовым названием Scarabaeus; число выделенных цифр равно номеру в иерархическом названии.
|
Сквозная нумерация таксонов начиная с наиболее высокого из тех таксонов, для которых старшим родовым названием является Scarabaeus |
Иерархическое название |
Циркумскриптное |
Нумерация |
|
1. |
Pediculus/f1=Scarabaeus/g1 |
Mandibulata |
IV-1.3.3 |
|
1.1. |
Cancer/fg1 |
Eucrustacea |
IV-1.3.3.1 |
|
1.2. |
Pediculus/f2=Scarabaeus/g2 |
Atelocerata |
IV-1.3.3.2 |
|
1.2.1. |
Julus/f1=Scolopendra/g1 |
Myriapoda |
V-1 |
|
1.2.2. |
Pediculus/f3=Scarabaeus/g3 |
Hexapoda |
VI-1 |
|
1.2.2.1. |
Podura/fg1 |
Entognatha |
VI-1.1 |
|
1.2.2.2. |
Pediculus/f4=Scarabaeus/g4 |
Amyocerata |
VI-1.2 |
|
1.2.2.2.1. |
Lepisma/fg1 |
Triplura |
VI-1.2.1 |
|
1.2.2.2.2. |
Pediculus/f5=Scarabaeus/g5 |
Pterygota |
VII-1 |
|
1.2.2.2.2.1. |
Ephemera/fg1 |
Ephemeroptera |
VII-1.1 |
|
1.2.2.2.2.2. |
Pediculus/f6=Scarabaeus/g6 |
Metapterygota |
VII-1.2 |
|
1.2.2.2.2.2.1. |
Libellula/fg1 |
Odonata |
VII-1.2.1 |
|
1.2.2.2.2.2.2. |
Pediculus/f7=Scarabaeus/g7 |
Neoptera |
VIII-1 |
|
1.2.2.2.2.2.2.1. |
Embia/fg1 |
Idioprothoraca |
VIII-1.1 |
|
1.2.2.2.2.2.2.2. |
Gryllus/f1=Forficula/g1 |
Rhipineoptera |
VIII-1.2 |
|
1.2.2.2.2.2.2.3. |
Pediculus/f8=Scarabaeus/g8 |
Eumetabola |
VIII-1.3 |
|
1.2.2.2.2.2.2.3.1. |
Pediculus/f9=Cicada/g1 |
Parametabola |
IX-1 |
|
1.2.2.2.2.2.2.3.2. |
Scarabaeus/f1=g9 |
Metabola |
X-1 |
|
1.2.2.2.2.2.2.3.2.1. |
Scarabaeus/f2=g10 |
Elytrophora |
X-1.1 |
|
1.2.2.2.2.2.2.3.2.1.1. |
Scarabaeus/f3=g11 |
Eleuterata |
X-1.1.1 |
|
1.2.2.2.2.2.2.3.2.1.1.1. |
Cupes/fg1 |
Archostemata |
1. |
|
1.2.2.2.2.2.2.3.2.1.1.2. |
Carabus/f1=Cicindela/g1
|
Adephaga |
2. |
|
1.2.2.2.2.2.2.3.2.1.1.3. |
Scarabaeus/f4=g12 |
Polyphaga
s.l. |
3. |
|
1.2.2.2.2.2.2.3.2.1.1.3.1. |
Sphaerius/fg1 |
Myxophaga |
3.1 |
|
1.2.2.2.2.2.2.3.2.1.1.3.2. |
Scarabaeus/f5=g13 |
Polyphaga
s.str. |
3.2. |
|
1.2.2.2.2.2.2.3.2.1.2. |
Stylops/f1=Xenos/g1 |
Strepsiptera |
X-1.1.2 |
|
1.2.2.2.2.2.2.3.2.2. |
Myrmeleon/f1=Hemerobius/g1 |
Neuropteroidea |
X-1.2 |
|
1.2.2.2.2.2.2.3.2.3. |
Papilio/fg1 |
Mecopteriformia |
X-1.3
|
I.6.4.4. Старшинство названий группы рода и группы семейства
Авторство всех типифицированных названий, фигурирующих в этой книге, приведено на стр. 000. Здесь необходимо прокомментировать происхождение самых старших названий группы рода и группы семейства.
Группа рода. Старшим названием группы рода в зоологии считается Araneus Clerсk 1758: согласно Международному кодексу зоологической номенклатуры книга Клерка «Пауки Швеции» (Clerck С. «Svenska spidlar», или «Aranei svecici»), фактически изданная в 1757 году, условно считается изданной в 1758 году, но до первого января этого года; благодаря этому приведенные в ней видовые названия пауков считаются пригодными и имеющими приоритет над названиями, данными Линнеем (см. I.6.3.1.2). Также согласно решению Международной комиссии по зоологической номенклатуре (Direction 104, 1959 года) условно считается, что в этой книге опубликовано название родовой группы Araneus Clerсk 1758, которое имеет приоритет над названием Aranea Linnaeus 1758.
Следующими по старшинству считаются названия родовой группы, приведенные Линнеем в первом томе 10-го издании «Системы природы» (Linnaeus C., 1758, «Systema Naturae») (см. I.5.4.2). Для установления старшинства среди одновременно опубликованных названий, в иерархической номенклатуре используется принцип страничного приоритета (т.е. старшим считается название, помещенное ближе к началу книги). В отношении Линнея этот принцип легко применим, потому что в ней все роды пронумерованы единой сквозной нумерацией и расположены строго в соответствии с этой нумерацией. Поэтому при указании положения в книге того или иного родового названия достаточно указать либо страницу, либо номер рода.
Линнеевская классификация начинается с класса млекопитающих (Mammalia), а классификация Mammalia начинается с отряда приматов (Primates), в котором первым стоит род человек (Homo). Таким образом, родовое название Homo является следующим по старшинству после Araneus. Среди членистоногих (класс Insecta) первым стоит отряд Coleoptera, который начинается с рода Scarabaeus; соответственно, прочие родовые названия насекомых уступают в приоритете названию Scarabaeus (табл. I.8). Все родовые названия, кроме Araneus и названий, вошедших в десятое издание «Системы природы», считаются впервые опубликованными позже и имеют меньший приоритет.
Таблица I.8. Зоологические названия группы рода, считающиеся впервые опубликованными в 1758 году и имеющие высший приоритет (приоритет названий убывает сверху вниз). Зачеркнутые названия недействительны, поскольку изъяты Международной комиссией по зоологической номенклатуре: Chermes изъято в 1965 г. (Opinion 731); Phalaena изъято в 1957 г. (Opinion 450); Aranea изъято в 2009 г. (Opinion 2224); Tethys изъято в 1954 г. (Opinion 200); Priapus изъято в 1985 г. (Opinion 1295); Holothuria изъято в 1924 г. (Opinion 80); название Medusa (род 263) официально не изъято, но не употребляется.
|
№ рода: |
Название родовой группы: |
Место в классификации по Linnaeus 1758: |
|
|
отряд |
класс |
||
|
– |
Araneus |
– |
– |
|
1 |
Homo |
1. Primates |
1. Mammalia |
|
2–169 другие роды позвоночных |
отряды позвоночных |
классы позвоночных |
|
|
170 |
Scarabaeus |
1. Coleoptera |
5. Insecta |
|
171–191 другие роды жуков |
-"- |
-"- |
|
|
192 |
Forficula |
-"- |
-"- |
|
193 |
Blatta |
-"- |
-"- |
|
194 |
Gryllus |
-"- |
-"- |
|
195 |
Cicada |
2. Hemiptera |
-"- |
|
196 |
Notonecta |
-"- |
-"- |
|
197 |
Nepa |
-"- |
-"- |
|
198 |
Cimex |
-"- |
-"- |
|
199 |
Aphis |
-"- |
-"- |
|
200 |
( |
-"- |
-"- |
|
201 |
Coccus |
-"- |
-"- |
|
202 |
Thrips |
-"- |
-"- |
|
203 |
Papilio |
3. Lepidoptera |
-"- |
|
204 |
Sphinx |
-"- |
-"- |
|
205 |
( |
-"- |
-"- |
|
207 |
Libellula |
4. Neuroptera |
-"- |
|
208 |
Ephemera |
-"- |
-"- |
|
209 |
Phryganea |
-"- |
-"- |
|
210 |
Hemerobius |
-"- |
-"- |
|
211 |
Panorpa |
-"- |
-"- |
|
212 |
Raphidia |
-"- |
-"- |
|
213 |
Cynips |
5. Hymenoptera |
-"- |
|
214 |
Tenthredo |
-"- |
-"- |
|
215–219 другие роды перепон- чатокрылых |
-"- |
-"- |
|
|
220 |
Oestrus |
6. Diptera |
-"- |
|
221 |
Tipula |
-"- |
-"- |
|
222–229 другие роды двукрылых |
-"- |
-"- |
|
|
230 |
Lepisma |
7. Aptera |
-"- |
|
231 |
Podura |
-"- |
-"- |
|
232 |
Termes |
-"- |
-"- |
|
233 |
Pediculus |
-"- |
-"- |
|
234 |
Pulex |
-"- |
-"- |
|
235 |
Acarus |
-"- |
-"- |
|
236 |
Phalangium |
-"- |
-"- |
|
237 |
( |
-"- |
-"- |
|
238 |
Scorpio |
-"- |
-"- |
|
239 |
Cancer |
-"- |
-"- |
|
240 |
Monoculus |
-"- |
-"- |
|
241 |
Oniscus |
-"- |
-"- |
|
242 |
Scolopendra |
-"- |
-"- |
|
243 |
Julus |
-"- |
-"- |
|
244 |
Gordius |
1. Intestina |
6. Vermes |
|
246 |
Lumbricus |
-"- |
-"- |
|
247 |
Ascaris |
-"- |
-"- |
|
248 |
Fasciola |
-"- |
-"- |
|
252 |
Limax |
2. Mollusca |
-"- |
|
253 |
Doris |
-"- |
|
|
254 |
( |
-"- |
|
|
255 |
Nereis |
-"- |
-"- |
|
256 |
Aphrodita |
-"- |
-"- |
|
257 |
Lernaea |
-"- |
-"- |
|
258 |
( |
-"- |
-"- |
|
260 |
( |
-"- |
-"- |
|
262 |
Sepia |
-"- |
-"- |
|
263 |
Medusa |
-"- |
-"- |
|
264 |
Asterias |
-"- |
-"- |
|
265 |
Echinus |
-"- |
-"- |
|
266 |
Chiton |
3.Testacea |
-"- |
|
267 |
Lepas |
-"- |
-"- |
|
268–298 роды моллюсков |
-"- |
-"- |
|
|
299 |
Tubipora |
4. Lithophyta |
-"- |
| 300 | Millepora |
-"- |
-"- |
| 301 | Madrepora |
-"- |
-"- |
|
302–312 другие роды |
5. Zoophyta |
-"- |
|
Группа семейства. Старшим названием группы семейства в зоологии считается название, образованное от родового названия Araneus, с условным авторством «Clerck 1758». Это решение было принято Международной комиссией по зоологической номенклатуре в 2009 году (Opinion 2224) (Kluge 2007); следовательно, типифицированные названия всех таксонов, включающих пауков (Araneus), должны быть образованы от родового названия Araneus.
В зоологических публикациях XVIII века категория семейства не использовалась, а названия таксонов надродовых рангов (отрядов, классов и др.) были преимущественно нетипифицированными. Среди названий членистоногих наиболее ранним типифицированным названием является название Pedicularia в книге Скополи о системе природы (Scopoli 1777); это название было дано таксону, включавшему род Pediculus, так что оно относится к группе семейства. Таким образом, типифицированные названия всех таксонов, включающих вшей (Pediculis), но не включающих пауков (Araneus), должны быть образованы от родового названия Pediculus.
Следующими по старшинству являются названия в книге Лайхартинга с описанием насекомых Тироля (Laicharting 1781): в этой книге нетипифицированные названия отрядов из классификации Линнея и других авторов заменены типифицированными названиями, первым из которых по традиции стоит название отряда жуков, образованное от родового названия Scarabaeus (табл. I.9). Долгое время наличие более старого типифицированного названия Pedicularia оставалось незамеченным, поэтому от родового названия Scarabaeus ошибочно образовывали типифицированные названия высших таксонов насекомых (Родендорф 1977, Расницын 1980, Клюге 2000, Rasnitsyn & Quicke 2002).
В книге Батча (Batsch 1788–1789) категория отряда заменена категорией семейства, и некоторым из этих семейств даны типифицированные названия; среди членистоногих это Cimicaria и Cicadina.
Семейства и другие таксоны между родом и отрядом были впервые введены в четырнадцатитомнике Латрейля о системе членистоногих (Latreille 1802). Некоторым из этих таксонов были даны нетипифицированные названия, а многим были даны типифицированные названия с неунифицированными окончаниями (табл. I.9). В последующей зоологической литературе семейства стали общепринятыми, и многие авторы стали использовать для них типифицированные унифицированные названия.
Таблица I.9. Старшие зоологические названия группы семейства (приоритет названий убывает сверху вниз).
|
Год |
Типовой род |
Исходное название |
Исходный ранг |
|
1758 |
Araneus |
Aranei |
– |
|
1777 |
Pediculus |
Pedicularia |
gens |
|
1781 |
Scarabaeus |
Scaraboides |
ordo |
|
-"- |
Gryllus |
Grylloides |
ordo |
|
-"- |
Cimex |
Cimicoides |
ordo |
|
-"- |
Papilio |
Papilionoides |
ordo |
|
-"- |
Libellula |
Libelluloides |
ordo |
|
-"- |
Vespa |
Vespoides |
ordo |
|
-"- |
Musca |
Muscoides |
ordo |
|
-"- |
Cancer |
Cancroides |
ordo |
|
-"- |
Oniscus |
Oniscoides |
ordo |
|
1789 |
Cicada |
Cicadina |
familia (= ordo) |
|
1802 |
Pagurus |
Pagurii |
familia |
|
-"- |
Palinurus |
Palinurii |
familia |
|
-"- |
Astacus |
Astacini |
familia |
|
-"- |
Squilla |
Squillares |
familia |
|
-"- |
Gammarus |
Gammarinae |
familia |
|
-"- |
Asellus |
Asellota |
familia |
|
-"- |
Scorpio |
Scorpionides |
familia |
|
-"- |
Phalangium |
Phalangita |
familia |
|
-"- |
Pycnogonum |
Pycnogonides |
familia |
|
-"- |
Acarus |
Acaridiae |
familia |
|
-"- |
Hydrachne |
Hydrachnellae |
familia |
|
-"- |
Lepisma |
Lepismenae |
familia |
|
-"- |
Podura |
Podurellae |
familia |
|
-"- |
32 названия таксонов жуков |
||
|
-"- |
Nepa |
Nepiae |
без ранга |
|
-"- |
Notonecta |
Notonectariae |
без ранга |
|
-"- |
Aphis |
Aphidii |
familia |
|
-"- |
Mantis |
Mantides |
familia |
|
-"- |
Myrmeleo |
Myrmeleonides |
familia |
|
-"- |
Hemerobius |
Hemerobiini |
familia |
|
-"- |
Perla |
Perlariae |
familia |
|
-"- |
Termes |
Termitina |
familia |
|
-"- |
Panorpa |
Panorpatae |
familia |
|
-"- |
26 названий таксонов перепончатокрылых |
||
|
-"- |
4 названия таксонов чешуекрылых |
||
|
-"- |
11 новых названий таксонов двукрылых |
||
I.6.5. Циркумскриптная (объемная) номенклатура
Циркумскрипцией (circumscriptio) таксона называется конкретный набор видов, входящих в таксон; вместо термина «циркумскрипция» можно использовать также термины «очертания», «границы», «пределы» или «объем».
Помимо собственно циркумскриптных названий (см. ниже), функции циркумскриптного названия может выполнять любое название (в том числе ранговое), если оно сопровождается ссылкой на автора циркумскрипции. Например, «Libellula sensu Linnaeus 1758» или «Libellula: Linnaeus 1758» означает то же, что циркумскриптное название «Odonata» (см. ниже), в то время как указание авторства «Libellula Linnaeus 1758» без «sensu» или двоеточия означает, что речь идет о ранговом родовом названии Libellula. Такой способ записи позволяет обеспечить циркумскриптными названиями все интересующие нас таксоны, однако он является громоздким и неуниверсальным: таксон одной и той же циркумскрипции можно назвать многими разными способами, используя разные названия в понимании разных авторов.
Более широкое употребление имеют специальные циркумскриптные названия (nomina circumscribentia), называемые также объемными названиями. Каждое такое название закреплено за таксоном, имеющим постоянную циркумскрипцию. Циркумскриптные названия таксонов являются общепринятыми прежде всего для крупных таксонов, но до сих пор не было никаких правил по их употреблению. Лишь в недавнее время удалось сформулировать правила, регулирующие употребление циркумскриптных названий (Клюге 1999); эти правила основаны на давно сложившихся традициях. В отличие от правил МКЗН для ранговых названий, сформулированные здесь правила циркумскриптной номенклатуры не являются официально узаконенными, и потому с формальной точки зрения не обязательны для употребления.
Наиболее полный каталог циркумскриптных названий таксонов членистоногих и вышестоящих таксонов, включающих членистоногих, находится в обновляемом электронном ресурсе «Nomina Circumscribentia Insectorum» (Kluge ****a).
Чтобы принять решение об использовании циркумскриптного названия, его следует оценить последовательно по трем критериям: 1) пригодность, 2) соответствие по циркумскрипции и 3) валидность (в отличие от ранговых названий, которые оцениваются только по двум критериям – пригодности и валидности). Ключевым понятием циркумскриптной номенклатуры, позволяющим говорить об идентичности или неидентичности таксонов по их объему, является понятие допускаемая циркумскрипция.
I.6.5.1. Термины, характеризующие циркумскрипцию надвидовых таксонов
Таксоны, упоминаемые и охарактеризованные в разных публикациях, очень трудно сопоставить между собой, и возникает бесконечно много разных мнений, какие таксоны из разных публикаций идентичны друг другу, а какие нет. Чтобы определить, соответствуют ли таксоны друг другу по циркумскрипции, введены следующие понятия (Клюге 1996).
Исходный включенный объем. Это совокупность видов, прямо или косвенно указанных в исходной публикации как относящихся к данному таксону.
Исходный строго включенный объем. Это исходный включенный объем за вычетом видов, по поводу систематической принадлежности которых в исходной публикации высказаны сомнения, а также за вычетом видов, которые автор исходной публикации включил в список видов таксона ошибочно, вопреки им же здесь же данному диагнозу таксона.
Исходный исключенный объем. Это совокупность видов, прямо или косвенно указанных в исходной публикации как не относящихся к данному таксону.
Исходный строго исключенный объем. Это исходный исключенный объем за вычетом видов, по поводу систематической принадлежности которых в исходной публикации высказаны сомнения, а также за вычетом видов, которые автор исходной публикации включил в другой таксон ошибочно, вопреки им же здесь же данным диагнозам таксонов.
Исходная циркумскрипция (или исходная допускаемая циркумскрипция). Это любой набор видов, включающий в себя все виды исходного строго включенного объема и не включающий ни одного вида исходного строго исключенного объема.
I.6.5.2. Критерии пригодности циркумскриптных названий
Поскольку совмещение типифицированного и циркумскриптного принципов номенклатуры невозможно, следует четко разделять типифицированные и циркумскриптные названия с помощью критериев пригодности таким образом, чтобы название пригодное в качестве типифицированного не могло быть пригодным как циркумскриптное, а название пригодное в качестве циркумскриптного не могло быть пригодным как типифицированное.
Пригодными циркумскриптными названиями следует считать все латинские названия, опубликованные начиная с 1758 г., не относящиеся к группе вида, группе рода и группе семейства МКЗН и не являющиеся типифицированными, т.е. не образованные от названия типового рода путем добавления только суффикса, окончания и/или корней «-morph-» или «-form-».
Примеры. Odonata, Odonatoidea, Odonatoptera, Odonatopterata – четыре разных пригодных циркумскриптных названия, поскольку они образованы от названия «Odonata», которое не является родовым названием (хотя исходно некоторые из этих названий предлагались в качестве ранговых). Ephemeroptera, Ephemeropteria, Ephemeropteroidea – три разных пригодных циркумскриптных названия, поскольку они образованы путем добавления корня «-pter-» к названию типового рода «Ephemera». Oniscomorpha – пригодное циркумскриптное название, если оно относится к таксону в составе Diplopoda (где нет родового названия Oniscus); но такое же название Oniscomorpha является унифицированным ранговым названием, если оно относится к таксону ракообразных, включающему типовой род Oniscus.
I.6.5.3. Соответствие по циркумскрипции
В отношении соответствия по циркумскрипции определенному таксону циркумскриптное название может быть либо не соответствующим, либо неоднозначно соответствующим, либо однозначно соответствующим.
(1) Название, не соответствующие по циркумскрипции данному таксону – это такое пригодное циркумскриптное название, у которого исходная допускаемая циркумскрипция (см. I.6.5.1) противоречит циркумскрипции данного таксона. Такое название не может быть валидным для данного таксона.
(2) Название, неоднозначно соответствующие по циркумскрипции данному таксону (nomen circumscribens non univocum) – это такое пригодное циркумскриптное название, у которого исходная допускаемая циркумскрипция не противоречит циркумскрипции данного таксона, но в то же время не противоречит и циркумскрипции другого таксона (или нескольких других таксонов) в той же классификации.
(3) Название, однозначно соответствующие по циркумскрипции данному таксону (nomen circumscribens univocum) – это такое пригодное циркумскриптное название, у которого исходная допускаемая циркумскрипция не противоречит циркумскрипции данного таксона и в то же время противоречит циркумскрипции любого другого таксона в той же классификации.
Пример. Исходной допускаемой циркумскрипцией названия Odonata Fabricius 1793 является любая циркумскрипция, включающая исходный включенный объем (т.е. все те 52 вида, которые Фабрициус описал в составе своего класса Odonata) и не включающая исходный исключенный объем (т.е. все те виды членистоногих, которые Фабрициус описал в той же работе в составе других классов). После Фабрициуса были описаны тысячи новых видов стрекоз. Добавление всех этих видов в таксон Odonata не противоречит исходной допускаемой циркумскрипции названия Odonata, поскольку эти виды, будучи неизвестными Фабрициусу, не упоминались им как не включенные в Odonata. Таким образом, название Odonata, дававшееся таксону, включавшему 52 вида, соответствует по циркумскрипции также и тому таксону, который в наше время называется Odonata и включает более 5000 видов. В то же время в работе Фабрициуса нет никаких указаний на то, включаются ли палеозойские насекомые (Meganisoptera и др.), имеющие отдаленное родство со стрекозами, в состав Odonata, или нет. Поэтому если мы используем классификацию, в которой имеется и таксон, включающий всех стрекоз вместе с Meganisoptera, и подчиненный ему таксон, включающий всех современных стрекоз, но не включающий Meganisoptera, то в этом случае название Odonata следует считать неоднозначно соответствующим по циркумскрипции и тому, и другому таксону (см. главу VII: Odonata).

В разных классификациях одно и то же название для таксона одной и той же циркумскрипции может оказаться неоднозначно или однозначно соответствующим по циркумскрипции.
Пример. Если принять высказывавшееся некоторыми авторами предположение, что разные группы современных стрекоз произошли от разных Meganisoptera, и на основании этого принять такую классификацию, в которой современные стрекозы не образуют единого таксона, противопоставляемого Meganisoptera, то название Odonata применительно к таксону, включающему всех стрекоз вместе с Meganisoptera, оказывается однозначно соответствующим по циркумскрипции этому таксону.

Циркумскриптная синонимия. Если различающиеся названия соответствуют по циркумскрипции одному и тому же таксону, они являются циркумскриптными синонимами. Циркумскриптные синонимы могут быть однозначными (synonyma circumscribentia univoca) и неоднозначными (s. c. non univoca). Циркумскриптная синонимия принципиально отличается от ранговой синонимии, в частности от синонимии в смысле МКЗН (см. выше, I.6.3.1.5); в отличии от ранговых синонимов, циркумскриптные синонимы относятся к таксонам одинаковой циркумскрипции, но совершенно не обязательно одинаковых рангов. Поэтому, говоря о циркумскриптной синонимии, следует ясно указывать, что речь идет именно об этом виде синонимии. Если имеются циркумскриптные синонимы, то из них следует выбрать валидное циркумскриптное название.
I.6.5.4. Валидность циркумскриптных названий
В качестве валидного циркумскриптного названия для конкретного таксона выбирается наиболее старое среди названий, однозначно и неоднозначно соответствующих по циркумскрипции; если это название оказывается однозначно соответствующим по циркумскрипции, оно является единственным валидным циркумскриптным названием данного таксона; если это название оказывается лишь неоднозначно соответствующим по циркумскрипции, помимо него выбирается второе валидное циркумскриптное название – наиболее старое среди названий, однозначно соответствующих по циркумскрипции.
Таким образом, в отличие от правил для ранговых названий, правила для циркумскриптных названий допускают существование у одного таксона более чем одного валидного названия.
В данной книге циркумскриптная номенклатура использована наряду с иерархической. О практическом использовании этих номенклатур в безранговой классификации см. ниже, I.6.7.
I.6.6. Недоразумения, связанные с названиями
Ранговый и циркумскриптный принципы номенклатуры являются несовместимыми и противоречат друг другу. Использование этих двух принципов применительно к одному и тому же названию приводит к путанице, когда невозможно понять, что подразумевается под этим названием.
I.6.6.1. Стихийно складывающиеся значения нетипифицированных названий
Нетипифицированными названиями, не относящимися к родовой и видовой группе, являются большинство общепринятых названий таксонов выше надсемейства и некоторые другие; употребление этих названий не регулируются правилами МКЗН. Согласно предлагаемым нами правилам (см. выше) эти названия следует употреблять только как циркумскриптные, однако до сих пор их произвольно использовали и как циркумскриптные, и как ранговые. Любопытно отметить, что при отсутствии правил происходит стихийное разделение названий на ранговые и циркумскриптные: при изменениях классификаций одни названия большинство авторов используют как ранговые (то есть название сохраняют за таксоном одного и того же ранга, независимо от его циркумскрипции), а другие названия используют как циркумскриптные (то есть сохраняют название за таксоном одной и той же циркумскрипции, независимо от его ранга). При этом непонятно, по какому принципу происходит это разделение.
Например, название Chilopoda Latreille 1817 традиционно используется как циркумскриптное: его ранг менялся от семейства (Latreille 1817) до класса (Pocock 1893), но циркумскрипция всегда оставалась неизменной.
Название Neuroptera традиционно использовалось как ранговое: оно почти всегда относилось к какому-нибудь таксону в ранге отряда, тогда как циркумскрипция этого таксона сильно менялась. В 10-м издании «Systema Naturae» (Linnaeus 1758) отряд Neuroptera включал роды Libellula, Ephemera, Phryganea, Hemerobius, Panorpa и Raphidia и представлял собой заведомо сборный парафилетический таксон; позже из него одна за другой удалялись входившие в него группы, так что в современной классификации под названием Neuroptera чаще всего понимают голофилетический отряд, включающий лишь часть видов, помещавшиеся Линнеем в род Hemerobius.
Другим заведомо сборным отрядом в составе класса Insecta в классификации Линнея был отряд Aptera; он включал всех бескрылых членистоногих. Группа, соответствующая линнеевским Aptera, не используется в современной систематике, так же как и группа, соответствующая линнеевским Neuroptera. Некоторые авторы пытались использовать название Aptera как ранговое и относили его к одному из отрядов, на которые разделен Линнеевский отряд Aptera: к Aphaniptera, к Anoplura или к Thysanura. Однако большинство авторов считают Aptera циркумскриптным названием и поэтому не используют его. Для бескрылых насекомых предложены различные другие названия – Apterygogenea Brauer 1885, Apterygota Lang 1888, Apterota Haeckel 1896 и др., чтобы избежать названия Aptera, которое в соответствии с принципами циркумскриптной номенклатуры считается преоккупированным.
Иногда создается ложное впечатление, что соподчинение таксонов меняется на противоположное, если для одного из таксонов используется ранговое название, а для другого – циркумскриптное.
Например, традиционно ранговым является название Insecta: оно всегда относится к таксону, имеющему ранг класса, а по циркумскрипции этот таксон менялся от Arthropoda (Insecta sensu Linnaeus) до таксона, близкого к Pterygota (Insecta sensu Lamarck) (см. ниже). В отличие от него, название Hexapoda Blainville 1816 является циркумскриптным и закреплено за конкретным систематическим таксоном. Из-за того, что ранговые названия перемещаются с одного систематического таксона на другой, ранговое название Insecta иногда относят к таксону, вышестоящему по отношению к Hexapoda (Kingsley 1888 и др.), иногда его относят к Hexapoda (Heymons 1901 и др.), а иногда к таксону, подчиненному Hexapoda (Lameere 1895–1900 и др.):
|
Kingsley 1888: |
Heymons 1901: |
Lameere 1895–1900: |
|
Insecta Malacopoda Arachnida Myriapoda Hexapoda
|
Arthropoda Teleiocerata Chelicerata Atelocerata Myriapoda Hexapoda=Insecta |
Hexapoda Iapygiens Campodes Collembola Thysanura Insecta |
Употребление нетипифицированных названий в качестве ранговых явно нецелесообразно. Если есть потребность в ранговых названиях, ее можно полностью удовлетворить с помощью типифицированных названий, т.е. названий, образованных от названия типового рода (см. выше, I.6.3.2). В отличие от них, нетипифицированные ранговые названия оказываются путаными, поскольку для них не обозначены типовые таксоны. Ранговая номенклатура может быть строгой и ясной, только если существуют ранги и типовые таксоны, как это имеет место, например, в МКЗН (см. I.6.3.1). Некоторые авторы пытались обозначать типовые роды для нетипифицированных ранговых названий, но это начинание не нашло поддержки, вероятно из-за того, что нет ясной договоренности, какие из нетипифицированных названий следует считать ранговыми, а какие циркумскриптными.
В частности, возвращаясь к рассмотренному выше примеру, отметим, что для названия линнеевского отряда Neuroptera в качестве типового рода был обозначен род Libellula (MacLeay 1819–1821), но многие авторы проигнорировали этот факт. При последующем разделении линнеевских Neuroptera на более мелкие отряды, некоторые авторы приписывали название Neuroptera отряду, включающему Libellula, а другие – отряду, не включающему Libellula; в настоящее время вторая тенденция возобладала.
Наиболее целесообразно использовать все нетипифицированные названия в качестве циркумскриптных (как это сформулировано в правилах циркумскриптной номенклатуры – см. I.6.5), а ранговый способ употребления оставить только за типифицированными названиями, для которых обозначены общепризнанные номенклатурные типы.
I.6.6.2. Пример мифообразования: теория о полифилии Hexapoda
Мифами в науке мы назовем такие заблуждения, которые основаны не на неверном толковании наблюдаемых объектов, а на неверном толковании текстов. В отличие от научных теорий и гипотез, мифы никто не придумывает: их читают в литературе и либо верят им, либо подвергают сомнению. Причиной того, что некое утверждение (миф), не написанное автором, оказывается прочитанным читателем, является несовершенство номенклатуры (Клюге 1996). Одним из таких случаев является миф о том, что будто бы кем-то выдвинута теория о полифилии Hexapoda.
Истоком этого мифа явилось изменение классификации Hexapoda, обусловленное развитием представлений о филогении этой группы. С давних пор существовала классификация, по которой таксон Hexapoda делился на два подчиненных таксона равного ранга – Apterygota и Pterygota (см. Hexapoda: «Классификации» I). Многие авторы считали Apterygota парафилетическим таксоном, предковым для Pterygota; однако долгое время оставалось неясным, какая именно из групп в составе Apterygota является наиболее близкой (предковой или сестринской) для Pterygota, поэтому таксон Apterygota продолжал существовать. Исследования строения головы показали, что Diplura, Collembola и Protura имеют синапоморфию – уникальное строение челюстных карманов с фулькрумом [см. главу VI: Entognatha (1)]; это позволило разделить Apterygota на Entognatha и Triplura. Несколько позднее была обнаружена синапоморфия Triplura и Pterygota – отсутствие в антеннах мышц во всех члениках, кроме первого [см. главу VI: Amyocerata (1)]. На основе этого была предложена иная классификация, где таксон Hexapoda делится не на Apterygota и Pterygota, а на другие два подчиненных таксона, каждый из которых является голофилетическим – Entognatha и Amyocerata; последний, в свою очередь, делится на Triplura и Pterygota. Таким образом, произошло следующее изменение классификации:

При этом изменилась классификация внутри таксона Hexapoda, но никак не изменилось представление о целостности и естественности самого таксона Hexapoda.
До сих пор мы использовали названия, однозначно соответствующие по циркумскрипции обсуждаемым таксонам и не зависящие от рангов. Однако наряду с ними в литературе использовались и другие названия, зависящие от рангов. Рассмотрим, как выглядит это же изменение классификации, если вместо строго циркумскриптных названий использовать названия, употребляемые по ранговому принципу. Таковым, в частности, является широко признанное название Insecta.
Название «Insecta», по-видимому, никогда не имело однозначного смысла. Оно является переводом на латинский язык употреблявшегося Аристотелем названия «εντομον» (энтомон) и буквально переводится на русский язык как «насекомые». К таксону «энтомон» Аристотель относил различных наземных членистоногих, но не раков, которые относились им к «μαλακοστρακα» – «Malacostraca». Такое употребление названия «энтомон» осталось традиционным и до настоящего времени: сейчас под словом «энтомология» понимают науку о насекомых, паукообразных и многоножках, но не о ракообразных. Карл Линней вопреки традициям не признавал самостоятельность класса ракообразных и включал всех ракообразных в отряд Aptera класса Insecta (Linnaeus 1735–1796). В таком виде его класс Insecta оказался соответствующим по циркумскрипции таксону, называемому сейчас Arthropoda (тогда как класс Entomon или Insecta в традиционном понимании не соответствует ничему в нынешней систематике). Хотя позже некоторые авторы (Fabricius 1792–1798, Latreille 1796 и др.) принимали таксон Insecta в той же циркумскрипции, что и Линней, это же название употреблялось также и в традиционном значении, то есть без включения сюда раков (Latreille 1802–1805 и др.). В дальнейшем для того, чтобы дать четкий диагноз Insecta, приходилось многократно пересматривать циркумскрипцию этого таксона с целью сделать его естественным. Ламарк относил к Insecta только крылатых насекомых; в понимании разных других авторов, в том числе современных, словом «Insecta» называются таксоны разных циркумскрипций, промежуточных между Insecta sensu Linnaeus и Insecta sensu Lamarck. В период со времен Линнея до наших дней слово «Insecta» использовалось в следующих значениях:
Insecta: Linnaeus 1758 = Arthropoda Siebold & Stannius 1848;
Insecta: Lamarck 1801 = Pterodicera Latreille 1802;
Insecta: Latreille 1806 = Tracheata Haeckel 1866;
Insecta: Leach 1815 = Hexapoda Latreille 1802;
Insecta: Cuvier 1817 = Atelocerata Heymons 1901;
Insecta: Packard 1883 = Dimalata Sharov 1966;
Insecta: Kingsley 1894 = Opisthogoneata Pocock 1893;
Insecta: Pearce 1936 = Holomerentoma Prell 1912;
Insecta: Handschin 1958 = Amyocerata Remington 1955;
Insecta: Chen 1962 = Pleomerentoma Krausse & Wolff 1919.
За все это время не было ни одного момента, когда бы слово «Insecta» употреблялось только в одном из его значений: всегда разными авторами это слово употреблялось не меньше чем в двух или трех разных значениях одновременно. В долиннеевский период существовали и другие значения названия Insecta; например, Реомюр называл насекомыми всех животных, кроме млекопитающих, птиц и рыб (т.е. включал в насекомых и червей, и рептилий).
Сложилась традиция приписывать название «Insecta» тому таксону, который в данной классификации имеет ранг класса (т.е. употреблять название Insecta как нетипифицированное ранговое название). Для того, чтобы использовать название «Insecta» для новой классификации в соответствии с названной традицией, надо установить, который из таксонов здесь имеет ранг класса.
Ко времени создания новой классификации ранг класса (а вместе с ним и название «Insecta») чаще других придавались таксону Hexapoda. В старой классификации, где класс Hexapoda (= Insecta auct.) делился на Apterygota и Pterygota, таксон Pterygota получал ранг подкласса. Соответственно, вся дальнейшая классификация Pterygota строилась, исходя из этого ранга (то есть Pterygota делились на инфраклассы и т.д.). Если теперь класс Hexapoda разделить на Entognatha и Amyocerata, а последний разделить на Triplura и Pterygota, то таксон Pterygota оказывается в ранге инфракласса:

Для того, чтобы сохранить прежнюю иерархию таксонов внутри Pterygota, потребовалось бы понизить на один ранг все таксоны крылатых насекомых, что чрезвычайно неудобно, поскольку к Pterygota относится большая часть всех видов животных. Наиболее безболезненный способ выйти из этого положения – это оставить Pterygota в прежнем ранге подкласса, но при этом повысить на один ранг таксоны выше Pterygota. Таким образом, таксон Amyocerata приобретает ранг класса, а таксон Hexapoda – ранг надкласса. В соответствии с такой расстановкой рангов, название «Insecta» теперь заменяет не название Hexapoda, а название Amyocerata.

Это изменение рангов и названий не связано ни с какими новыми научными идеями, оно продиктовано лишь соображениями удобства и соблюдения традиций. Однако благодаря таким чисто формальным изменениям в классификации возникает новый миф о филогении насекомых.
Читатель научной публикации, увидев новую классификацию, воспринимает используемое в ней понятие «класс Insecta» как нечто давно знакомое, привычное и не нуждающееся в специальных комментариях (хотя в действительности словосочетание «класс Insecta» употребляется здесь в новом понимании). Недоумение читателя вызывает лишь тот факт, что в старой классификации Entognatha были внутри класса Insecta, а в новой классификации они оказались за его пределами. Создается впечатление, что скрыточелюстных насекомых почему-то исключили из класса Insecta; при этом не приходит в голову, что на самом деле таксоны остались на своих местах в иерархической классификации, а лишь название «класс Insecta» сместилось с одного таксона на другой. Читатель видит, что такое изменение классификации признано сразу несколькими солидными авторами и отсюда делает вывод, что это изменение обосновано хорошо аргументированной теорией (выше мы показали, какая логика в действительности приводит к единодушию по поводу этого изменения). Кроме того, читатель не обнаруживает в публикациях объяснений такого изменения (которых нет, поскольку изменение лишь чисто формальное) и поэтому думает, что теория, на которой основано это изменение, хорошо всем известна. Теорией, которая заставила бы систематиков исключить Entognatha из состава насекомых, могла бы быть теория о полифилии Hexapoda, то есть теория о том, что Entognatha и Amyocerata не имеют общего шестиногого предка. Поэтому читателю кажется, что именно такого рода теория кем-то выдвинута, хорошо аргументирована и признана большинством авторитетов. Здесь мифом является даже не сама теория о полифилии Hexapoda (которой вообще нет), а утверждение, что такая теория где-то существует. Миф о существовании полифилетической теории происхождения Hexapoda настолько убедил некоторых авторов, что они активно отстаивают эту несуществующую теорию (см. главу VI: Hexapoda: «Статус»).
I.6.7. Сочетание циркумскриптной и иерархической номенклатуры
I.6.7.1. Применение разных номенклатур
Для надвидовых таксонов иерархическая номенклатура более оправдана, чем ранговая, поскольку иерархическая номенклатура опирается на существующую в природе иерархию филогенетического древа, тогда как ранговая номенклатура опирается на абсолютные надвидовые ранги, которых в природе не существует. Для видов картина иная: здесь ранговая номенклатура вполне оправдана, поскольку опирается на биологически обоснованное определение вида.
Таким образом, для надвидовых таксонов целесообразно заменить ранговую номенклатуру на иерархическую, а для названий видовой группы сохранить ранговую номенклатуру. В то же время иерархическая номенклатура в меньшей степени удовлетворяет нуждам систематики, чем циркумскриптная номенклатура, поэтому, если есть возможность выбирать между иерархическим и циркумскриптным названиями, следует предпочесть циркумскриптное название. Иерархическая номенклатура имеет единственное, но немаловажное преимущество перед циркумскриптной: если для упорядочения циркумскриптной номенклатуры нужно утверждать новые правила (в частности, правила омонимии), каталогизировать опубликованные названия и создавать много новых названий, то для введения иерархической номенклатуры достаточно взять уже готовые правила МКЗН и уже имеющиеся названия родовой группы и группы семейства и изменить лишь способ записи названий, сделав их из ранговых иерархическими.
I.6.7.2. Написание видового названия в безранговой классификации
Если для надвидовых таксонов устраняются все абсолютные ранги, то устраняется, соответственно, и ранг рода. Однако, согласно правилам МКЗН, название вида может существовать только как биномен, то есть только в сочетании с названием рода. Употреблять видовой эпитет без родового названия нельзя, так как в зоологической номенклатуре одни и те же видовые эпитеты многократно повторяются; нельзя также в биномене заменить родовое название названием надвидового таксона произвольного ранга, так как в этом случае возникнет неопределенность омонимии.
В безранговой номенклатуре видовое название записывается в виде базионима (см. I.6.4.1). Чтобы указать современное систематическое положение вида, впереди видового эпитета можно написать иерархическое название (см. выше, I.6.4) любого из надвидовых таксонов, к которому относится данный вид; благодаря особой форме записи, свойственной иерархической номенклатуре, это название не будет принято за родовое название в биномене.
Например (см. рис. 1.9), вместо Habrophlebia (Habrophlebia) fusca (Curtis 1834) можно записать Habrophlebia/fg3 fusca Curtis 1834 [Ephemera], или с менее точным указанием систематического положения: Habrophlebia/fg1 fusca [Ephemera], или еще менее точно: Leptophlebia/fg2 fusca [Ephemera]. Можно также написать: Leptophlebia/fg2 Habrophlebia/fg3 fusca [Ephemera], или Leptophlebia/fg2-Habrophlebia/fg3-fusca [Ephemera].
В отличие от неизменного исходного родового названия (стоящего в квадратных скобках), иерархическое название, стоящее впереди, может меняться в зависимости от представлений о систематическом положении этого вида. Такая форма записи имеет явные преимущества перед традиционной. В традиционной записи видового биномена родовое название призвано выполнять сразу две противоречивые функции: (1) сделать видовое название уникальным и (2) указать нынешнее мнение автора о систематическом положении вида. Каждая из этих задач достаточно сложна сама по себе, и пытаться решать их одновременно часто бывает нецелесообразным. При изменении систематического положения вида нередко возникает или исчезает омонимия, что влечет за собой замену видового эпитета; иногда в результате этого картина настолько запутывается, что бывает трудно понять, о каком виде идет речь, и это приводит к недоразумениям. С другой стороны, в разных случаях бывает целесообразно указывать систематическое положение с разной точностью, и единственное родовое название для этого мало подходит.
Например, в двух разных таксономических публикациях, вышедших примерно в одно время, названия двух заведомо разных видов поденок были записаны в традиционной бинарной форме следующим образом:
первый вид – Epeorus znojkoi (Tshernova 1938) и
второй вид – Epeorus znojkoi (Tshernova 1938).
Такая форма названий не позволяет понять, о каком именно виде в каждом их этих случаев идет речь. Гораздо больше информации содержится в записях:
первый вид – znojkoi Tshernova 1938 [Ecdyonurus] и
второй вид – znojkoi Tshernova 1938 [Iron].
Если бы наши знания о двух упомянутых здесь видах сейчас ограничивались первоописаниями и изучением типовых экземпляров (которые представлены лишь одной стадией развития – имаго), систематическое положение этих видов можно было бы записать так:
первый вид – Rhithrogena/fg2 znojkoi Tshernova 1938 [Ecdyonurus],
второй вид – Epeorus/g2 znojkoi Tshernova 1938 [Iron],
поскольку таксоны Rhithrogena/fg2 и Epeorus/g2 имеют четкие диагнозы по признакам имаго. Согласно современной классификации, Rhithrogena/fg2 делится на таксоны Cinygmula/g1 и Rhithrogena/fg3, которые различаются только по строению личинок. Epeorus/g2 делится на таксоны Ironodes/g(1) и Epeorus/g3, а последний, в свою очередь, делится на Epeorus/g4, Caucasiron/g(1) и другие подчиненные таксоны, различающиеся по строению личинок. Зная строение личинок обоих видов, мы можем записать:
первый вид – Rhithrogena/fg3 znojkoi [Ecdyonurus],
второй вид – Caucasiron/g(1) znojkoi [Iron]
или более подробно – Epeorus/g3 Caucasiron/g(1) znojkoi [I.].
Все приведенные выше записи систематического положения второго вида являются правильными, но разной степени точности. В противоположность этому, при традиционной форме записи все биномены, кроме одного, считаются неправильными, а единственный «правильный» биномен в разных публикациях оказывается разным.
Традиционная бинарная форма записи является наиболее краткой; она удобна в тех случаях, когда не обсуждается систематика видов, например в экологических, физиологических и других нетаксономических работах. В данной книге систематика рассматривается на уровне крупных надвидовых таксонов, а не на уровне видов, и поэтому здесь тоже большая часть видовых названий приведена в краткой бинарной форме. Однако в специальных работах, где обсуждается систематическое положение и статус видов, целесообразнее использовать более длинную безранговую форму записи.
I.6.7.3. План изложения таксономической работы
В литературе линнеевского типа принято давать для каждого таксона отдельно диагноз, описание и дифференциальный диагноз (называемый также сравнением или обсуждением). При этом предполагается, что диагноз содержит краткий перечень отличительных (диагностических) признаков, описание представляет собой развернутую характеристику таксона, а в дифференциальном диагнозе указаны отличия от других конкретно названных таксонов. В действительности такое повторение одних и тех же признаков не оправдано, поскольку нет принципиальной разницы между описанием, диагнозом и дифференциальным диагнозом. По сути дела описание отличается от диагноза только тем, что оно длиннее, а диагноз короче. В обоих случаях текст включает в себя не все признаки таксона, поскольку число признаков любого таксона бесконечно велико; и описание, и диагноз включают только систематически значимые признаки. Считают, что дифференциальный диагноз отличается тем, что в нем признаки даются не просто так, а в сравнении с признаками других таксонов. Однако любой признак является систематически значимым только в том случае, если он рассматривается в сравнении. Поэтому дифференциальный диагноз может отличается от описания и диагноза только тем, что в нем сравнение дается в явной форме, тогда как в описании и диагнозе это же сравнение содержится в скрытой форме. На самом деле, в научной работе ничего не должно быть в скрытой форме, поскольку цель научной работы – открыть взгляды автора читателю. Поэтому в любом систематическом тексте, как бы он ни назывался (описание, диагноз или дифференциальный диагноз), целесообразно давать сравнение в явной форме.
В линнеевской систематике принято давать диагнозы таксонов по плану, единому для каждого конкретного ранга и разному для разных рангов. Например, если в диагнозе одного отряда сказано, что передние крылья преобразованы в надкрылья, то в диагнозах прочих отрядов того же класса указывают, что передние крылья не преобразованы в надкрылья; при этом в диагнозах надотрядов этот признак может не упоминаться. Такой способ изложения позволяет облегчить поиск признака, интересующего читателя, и в то же время избежать чрезмерно большого числа повторов одних и тех же признаков в диагнозах разных подчиненных друг другу таксонов. В то же время при таком плане изложения диагнозы таксонов (которые призваны быть естественными составляющими системы) ставятся в зависимость от абсолютных рангов (которые являются чисто искусственными составляющими системы), что заметно уменьшает естественность всей системы.
В кладоэндезисе используется иной способ изложения, который в большей степени соответствует задачам систематики. Для каждого надвидового таксона характеристика дается по единому плану, не зависящему от ранга (таким образом появляется возможность не присваивать абсолютные ранги таксонам, т.е. перейти к безранговой классификации). Вначале указываются аутапоморфии, затем признаки неясного филогенетического значения, затем плезиоморфии; после плезиоморфий или наряду с ними иногда указываются изменчивые признаки данного таксона (обычно это признаки нижестоящих, не рассматриваемых здесь таксонов). Следует заметить, что здесь нет отдельной рубрики, озаглавленной «Синапоморфии», так как все явные синапоморфии данного таксона с другим таксоном перечислены не в характеристике данного таксона, а в характеристике вышестоящего таксона в рубрике «Аутапоморфии». Все сомнительные синапоморфии указываются в рубрике «Признаки неясного систематического положения»; при необходимости эта рубрика подразделена на несколько. Для каждого признака по возможности дается не только описание, но и сравнение с другими таксонами и указание на уникальность или неуникальность. Там, где это необходимо, в квадратных скобках дается ссылка на описание более общего признака вышестоящего таксона.
Признаки пронумерованы; эта нумерация нужна только для того, чтобы было удобнее ссылаться на соответствующие места в описании, но ни в коем случае не для подсчета признаков. Процедура подсчета признаков входит во все используемые сейчас компьютерные кладистические программы, и тем самым делает эти программы лишенными научного смысла (см. выше, I.4.2.6). При расстановке номеров признаков можно пользоваться только искусственными соображениями удобства, так же как при разбиении текста на предложения, абзацы, главы и т.п., и, соответственно, нельзя придавать числу номеров какой-либо естественнонаучный смысл.
Помимо основного текста, содержащего характеристики таксонов, имеется общий указатель признаков. В этом указателе признаки группируются по деталям строения, к которым они относятся, а детали строения, в свою очередь, располагаются в привычной последовательности, облегчающей их поиск. После каждого признака указываются названия таксонов, после каждого названия – номер, под которым этот признак описан. В указателе один и тот же признак может повторяться более одного раза, если это облегчает его поиск. Такой указатель признаков отдаленно напоминает список признаков и матрицу, приводимую во многих кладистических работах, но это сходство лишь внешнее. В отличие от матрицы, указатель является не основой для выводов, а лишь указателем (подобно оглавлению или алфавитному указателю). В указателе приводятся рассматриваемые в данной работе иерархически соподчиненные таксоны, а не только «операциональные единицы», которые могут быть включены в матрицу; в указателе имеется единая нумерация деталей строения, но нет единой нумерации признаков: для каждого признака приводится тот номер, который использован в описании соответствующего таксона.
I.7. Зоологические каталоги
I.7.1. Каталоги названий
Правильное использование каких-либо принципов номенклатуры возможно только при наличии каталогов опубликованных названий. Это в равной мере относится и к типифицированным названиям, и к циркумскриптным.
1.7.1.1. Каталоги типифицированных названий. Наиболее полные сведения о зоологических названиях группы семейства, рода и вида (а также другие сведения о публикациях по систематике животных) содержатся в реферативном журнале «Zological Record», каждый том которого охватывает зоологическую литературу за один год; журнал выходит с 1864 года; исходно он издавался Лондонским зоологическим обществом, с 1981 издавался совместно с американской компанией BIOSIS, а в настоящее время издается корпорацией Thompson Reuters. В печатных томах этого журнала легко найти нужные сведения в том случае, если известен год опубликования, и если этот год не раньше 1864.
Сведения о более ранних названиях, а также о названиях, дату опубликования которых предстоит выяснить, можно найти в следующих каталогах. Каталог родовых и видовых названий, опубликованных с 1758 по 1850 гг., – «Index animalium» (Sherbon 1902, 1922, 1931–1933). Два сходных по содержанию каталога названий родовой группы, опубликованных с 1758 года – «Nomenclator animalium generum et subgenerum» (Schulze et al. 1926–1940) и «Nomenclator zoologicus» (Neave 1939). В этих трех каталогах отсутствуют сведения о типовых видах названий родовой группы, а также нет сведений о названиях группы семейства и группы вида. Каталог «Nomenclator zoologicus» исходно издан в 4 томах, содержащих названия, опубликованные в 1758–1935 гг.; в дальнейшем вышли тома, содержащие более поздние названия: т. V (1950) – названия 1936–1945 гг.; т. VI (1966) – названия 1946–1955 гг.; т. VII (1975) – названия 1956–1965 гг.; т. VIII (1993) – названия 1966–1977 гг.; т. IX (1996) – названия 1978–1994 гг.; электронная версия всего каталога «Nomenclator zoologicus», выполненная в Marine Biological Laboratory (США), доступна в Интернете.
Решения Международной комиссии по зоологической номенклатуре по отдельным названиям группы вида, группы рода и группы семейства публикуются в журнале «Bulletin of Zoological Nomenclature». Кроме того, издан единый каталог названий, по которым были приняты решения Комиссии – «Official Lists and Indexes of Names and Works in Zoology» (Melvile & Smith 1987, Smith 2001, Official Lists ... 2012).
Помимо этих общезоологических каталогов, имеются более подробные каталоги типифицированных названий группы вида, группы рода и/или группы семейства по отдельным таксонам животных.
1.7.1.2. Каталог нетипифицированных (циркумскриптных) названий. Большинство опубликованных каталогов зоологических названий содержат только названия, подпадающие под правила МКЗН (см. 1.7.1.1). Содержащиеся в литературе сведения о нетипифицированных названиях носят, как правило, случайный характер и зачастую неверны. До того, как мною были предложены правила циркумскриптной номенклатуры, было неясно, какие именно атрибуты нетипифицированного названия должны быть включены в каталог; поэтому для этих названий часто указывают неверное авторство и не указывают исходную циркумскрипцию.
Среди обширной энтомологической литературы можно назвать лишь несколько публикаций, содержащих полезную информацию о нетипифицированных названиях. Том по насекомым в многотомнике «Handbuch der Entomologie» (Handlirsch 1925) содержит большое количество названий с ссылками на авторов, но без различения типифицированных и нетипифицированных названий. Каталог названий группы семейства у двукрылых (Sabrosky 1999), помимо детальных сведений о типифицированных названиях Diptera, содержит приложение, в котором дан подробный список нетипифицированных названий двукрылых с библиографическими ссылками и краткими сведениями об исходной циркумскрипции каждого названия.
Наиболее полным каталогом нетипифицированных названий членистоногих является составленный мною электронный каталог «Nomina Circumscribentia Insectorum» (Kluge, online), доступный по адресу http://www.insecta.bio.spbu.ru/z/nom/index.htm Он содержит все найденные в литературе нетипифицированные названия таксонов, относящихся к членистоногим, а также таксонов живых организмов, вышестоящих по отношению к членистоногим. Для каждого названия, помимо библиографической ссылки на первое опубликование, даны сведения об его исходной циркумскрипции и о соответствующем типифицированном названии. Благодаря этому поиск данных, содержащихся в этом каталоге, можно проводить как по нетипифицированным, так и по типифицированным названиям.
I.7.2. Принципы составления таксономических каталогов
Какая информация может, а какая не может быть предметом каталогизации. Некоторые люди считают, что можно создать каталог видов или более высоких таксонов как таковых. В действительности ни виды, ни какие-либо другие природные объекты не могут быть помещены в каталог, потому что любой каталог – это не коробка для коллекций, и в него могут быть помещены только логические объекты. Любой логический объект порожден человеческим мозгом. Поэтому прежде всего нужно ответить на вопрос: из чьего мозга берется та информация, которая составляет каталог? Здесь есть две возможности: (1) информация порождена определенным автором или группой авторов, которые составили этот каталог; (2) информация берется из неограниченного множества публикаций, и в этом случае каталог должен беспристрастно отражать разнообразные мнения, содержащиеся в этих публикациях. Эти два подхода принципиально различны.
В первом случае, когда каталог состоит из таких утверждений, которые его автор(ы) считает(ют) правильными, этот каталог представляет собой научную работу, и как всякая научная работа, он должен иметь ясное авторство; он не может быть анонимным или подписанным какой-либо организацией или неограниченным числом участников. Такой каталог никогда не может считаться единственно возможным в данной области знания, а должен предполагать возможность существования других каталогов по тому же предмету, составленных другими авторами. Некоторые люди думают, что если написано, что вид a-us относится к роду B-us и обитает в C-ландии, то такого рода информация может быть совершенно правильной и не нуждается в указании источника. Однако, на самом деле помещение вида a-us в род B-us происходит от мнения автора, что этот вид ближе к другим видам, помещенным им в род B-us, чем к другим видам животных; утверждение, что вид a-us обитает в C-ландии происходит от представления автора о границах вида a-us и от его мнения, что особи из C-ландии были правильно определены. Утверждения такого рода не могут быть разделены на верные и неверные. Они являются составными частями определенных научных представлений, так что могут быть одновременно верными в одном контексте и неверными в другом; они являются компонентами научного знания, о котором никто не может дать окончательного заключения, верно оно или нет. Поэтому, если такие утверждения представлены как верные, недостаточно лишь указать их исходные источники, но необходимо также ясно указать составителя каталога, который выбрал эти источники среди множества других и считает эту информацию верной.
Во втором случае, когда информация берется из литературы, каталог в целом может быть анонимным или составленным неограниченным числом участников. В таком каталоге вместо утверждения, что вид a-us относится к роду B-us, утверждается, что в публикации N вид a-us был отнесен к роду B-us, а в публикации M вид a-us был отнесен к роду C-us. Вместо утверждения, что вид a-us обитает в C-ландии утверждается, что в публикации N вид a-us был указан для C-ландии, а в публикации M выражено сомнение в правильности этого утверждения в публикации N. Такой каталог может быть абсолютно объективным и правильным в том смысле, что объективно отражает всю литературу, правильно информируя читателя о том, какие утверждения в каких публикациях содержатся. В отличие от каталога, который отражает мнение его составителя и существует только до тех пор, пока это мнение не изменится, каталог, объективно отражающий литературу, может существовать неограниченно долго, никогда не устаревая.
Проблема видовых каталогов и ее разрешение. В объективном литературном каталоге данные о видах должны быть распределены не по видам, а по видовым названиям, поскольку концепции вида могут быть предметом разногласий; названия также могут быть предметом разногласий, но, в отличие от видов, названия могут быть однозначно формализованы.
При составлении каталога, основанного на видовых названиях, возникают проблемы, связанные с нестабильностью бинарной номенклатуры. Эта нестабильность неизбежна и вызвана постоянной инфляцией родов (см. I.5.4.4), различиями в представлениях разных авторов о классификации в целом и о систематическом положении данного вида (см. I.4 и I.5), обратимым переименованием вторичных омонимов (см. I.6.3.1.6) и другими причинами. Поэтому в основе каталога должны быть не валидные биномены, а первичные биномены – базионимы (см. I.6.4.1).
Согласно Кодексу, если появляются идентичные первичные биномены (первичные омонимы), младшее из этих названий переименовывается необратимо. Это означает, что во всей зоологической номенклатуре каждый пригодный первичный биномен является уникальным и не может совпадать с каким-либо другим пригодным первичным биноменом.
Чтобы не путать первичные биномены с валидными биноменами, в первичном биномене следует писать родовое название не в начале, а в конце, заключив его в квадратные скобки, например: diptera [Ephemera] или diptera Linnaeus 1761 [Ephemera]. Для названий файлов или других маркеров в электронных базах данных (где квадратные скобки невозможны или нежелательны) можно использовать другое написание первичных биноменов, но в любом случае должно присутствовать видовое название с его исходным окончанием и то родовое название, которым оно было снабжено в первоначальном описании.
В различных электронных каталогах (таких как «ZooBank» и др.) данные о каждом виде распознаются по уникальному номеру-идентификатору. Создание таких номеров излишне, если вместо них использовать первичные биномены. В отличие от условных номеров, которые оказываются различными в различных каталогах, все первичные биномены универсальны и могут быть использованы для создания единого глобального каталога.
Примером каталога, основанного на первичных биноменах, является каталог литературных данных по поденкам «Ephemeroptera of the World» (Kluge 2009a), с которым можно ознакомиться по ссылке http://www.insecta.bio.spbu.ru/z/Eph-spp/index.htm (Kluge, online).
Проблема классификаций в биологических каталогах и ее разрешение. Большинство биологических каталогов основаны на той или иной конкретной классификации. В то же время любая биологическая классификация, будучи основанной на филогении, отражает конкретную научную теорию и является предметом научной дискуссии (см. I.5); это означает, что ни одна классификация не может быть одинаково признана всеми пользователями каталога. В ходе исследований, когда открываются новые апоморфии, устанавливаются новые голофилетические таксоны и отвергаются старые плезиоморфоны, прежняя классификация устаревает, и вместе с ней устаревают и каталоги, основанные на этой классификации, так что огромная работа по их созданию оказывается бесполезной.
В каталоге, призванном отражать опубликованную информацию, все классификации должны быть представлены как равноценные.
Для этой цели можно сгруппировать все ссылки на публикации о разных таксонах по названиям в базовом формате. Например, все упоминания разнообразных таксонов под типифицированными названиями «род Ephemera», «подсемейство Ephemerinae», «семейство Ephemeridae», «надсемейство Ephemeroidea», «отряд Ephemerida» и т.п. можно сгруппировать в одну таблицу, для каждой записи указав литературный источник и снабдив ее ссылками на записи о вышестоящих и подчиненных таксонах, содержащиеся в других таблицах каталога. Таким образом организован упомянутый выше каталог «Ephemeroptera of the World» (Kluge 2009a).
Электронный каталог. Для того, чтобы представить разнообразные классификации в наглядной форме, можно записать каталог в виде электронных таблиц и программы для их обработки. Электронных таблиц должно быть не менее трех.
1) Таблица публикаций, где каждая запись содержит полную литературную ссылку с отдельными полями по крайней мере для автора (для определения авторства новых названий) и для года (для сортировки по хронологии) и содержит поле с уникальным индексом публикации.
2) Таблица названий с отдельными полями для самого названия, для автора названия и для года первого опубликования, обеспечившего пригодность названия. Здесь же могут быть поля, указывающие категорию названия (название группы рода, название группы семейства, циркумскриптное название и т.п.) и другие неизменные атрибуты названия (типовой таксон и пр.). Вместо одной такой таблицы можно сделать несколько таблиц для разных категорий названий с разными наборами полей (например, для таблицы по видовым названиям необходимо поле для первичного родового названия).
3) Таблица классификаций состоит из записей, каждая из которых сделана на основе одной публикации и содержит информацию, относящуюся к одному таксону в классификации, представленной в данной публикации. Имеет следующие поля. (1) Индекс публикации, совпадающий с соответствующим индексом в таблице публикаций. (2) Название таксона, совпадающее с названием в таблице названий. (3) Индекс данной записи. (4) Индексы записей, относящиеся к вышестоящим таксонам в данной публикации. (5) Индекс записи старшего синонима (для названия, которое в данной публикации приведено в качестве младшего синонима). (6) и др. – поля, содержащие сведения об этом таксоне, взятые из данной публикации: ранг таксона; авторство названия, приписываемое ему в данной публикации; разнообразные сведения об этом таксоне, содержащиеся в данной публикации, и др.
Такая база данных позволяет проводить поиск по названиям таксонов и другим параметрам. Для того, чтобы восстановить иерархическую классификацию из конкретной публикации, программа выбирает из таблицы классификаций все записи, относящиеся к этой публикации (по содержащимся в них индексам публикаций) и расставляет их в соответствии с их иерархическим соподчинением, принятом в данной публикации (по содержащимся в них индексам вышестоящих таксонов). Эти же индексы вышестоящих таксонов и синонимов позволяют выбирать из всех классификаций все варианты деления какого-либо таксона на подчиненные таксоны, все варианты отнесения его к вышестоящим таксонам и все представления о синонимии названий, которые, так же как и представления о классификации, являются субъекивными и противоречивыми (cм. 1.6.1.1).