КЛАДОЭНДЕЗИС НАСЕКОМЫХ

классификация

рисунки

указатель
признаков

термины
рус.

термины
лат.

fg

C  U V W X Y Z

Gnathopoda Euarthropoda Mandibulata Atelocerata Hexapoda

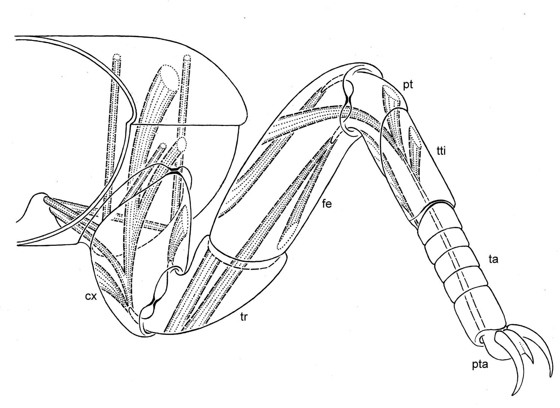
Рис. 6.1.2. Схема строения и мускулатуры ноги Hexapoda. Левая половина грудного сегмента и нога, вид спереди-латерально. Аподемы показаны прерывистыми линиями, мышцы показаны прерывистыми линиями и продольной пунктировкой. Условные обозначения: cx – тазик (кокса); fe – бедро (фемур); pt – пателла; pta – претарсус; ta – лапка (тарсус); tr – вертлуг (трохантер); tti – телотибия.